LEMON Manuals: Even more car manuals for everyone
Home >> Volvo >> 2009 >> V70 >> Repair and Diagnosis (Single Page) >> Accessories & Equipment >> Drivers Assistance Systems - ADAS >> Media, Communication And Navigation - Specifications, Electrical/Electronic >> Signal Specification, Subwoofer Module (Sub) (2008-2010) >> Signal Specification >> Connector C2

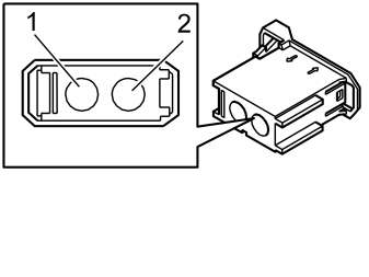
Connector C2

Fig 1: Identifying Subwoofer Module (SUB) Connector C2
GLL153821Courtesy of VOLVO CARS CORPORATION
SIGNAL TABLE, CONNECTOR C2

Breakout box terminal  Control module terminal  Signal type  Ignition on  Other 
  #1 MOST input signal - Optical input signal when the MOST network is activated
  #2 MOST output signal - Optical output signal when the MOST network is activated