LEMON Manuals: Even more car manuals for everyone
Home >> Volvo >> 2009 >> V70 >> Repair and Diagnosis (Single Page) >> Accessories & Equipment >> Drivers Assistance Systems - ADAS >> Media, Communication And Navigation - Specifications, Electrical/Electronic >> Signal Specification, Subwoofer Module (Sub) (2008-2010) >> Signal Specification >> Connector C1

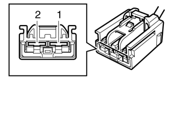
Connector C1

Fig 1: Identifying Subwoofer Module (SUB) Connector C1
GLL154728Courtesy of VOLVO CARS CORPORATION
SIGNAL TABLE, CONNECTOR C1

Breakout box terminal  Control module terminal  Signal type  Ignition on  Other 
  #1 30-feed Ubat -
  #2 Ground Ulow -