LEMON Manuals: Even more car manuals for everyone
Home >> Volvo >> 2009 >> V50 Base, 2.4 39 >> Repair and Diagnosis >> Accessories & Equipment >> Infotainment >> Media, Communication And Navigation - Specifications, Electrical/Electronic >> Signal Description, Subwoofer Module (Sub) (2005-2008) >> Signal Specification

Signal Specification

NOTE:

It is important to connect the breakout box and check the ground terminals before taking readings.

U= DC voltage in volts (V) Ulow = Voltage approximately 0 V
Ubat = Battery voltage (V)    
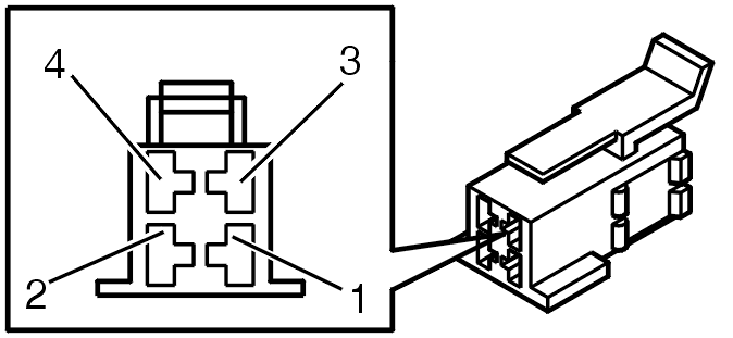
Fig 1: Identifying Connector A, Subwoofer Module (Sub)
GLL101918Courtesy of VOLVO CARS CORPORATION
CONNECTOR A, SUBWOOFER MODULE (SUB)

Terminal  Breakout box terminal  Signal type  Ignition on  Other 
#A1 #51 Ground U=Ulow  
#A2 #52 - -  
#A3 #53 15 supply U = Ubat
#A4 #54 - -
Fig 2: Identifying Connector C
GLL108086Courtesy of VOLVO CARS CORPORATION
CONNECTOR B, AUDIO MODULE (AUD)

Terminal  Breakout box terminal  Signal type  Ignition on  Other 
#B1 - MOST input signal Optical input signal when the MOST network is activated  
#B2 - MOST output signal Analog output signal when the loudspeaker is in use