LEMON Manuals: Even more car manuals for everyone
Home >> Volvo >> 2009 >> V50 Base, 2.4 39 >> Repair and Diagnosis >> Accessories & Equipment >> Infotainment >> BLUETOOTH Phone Module (Bpm), Infotainment Control Module (ICM), Media Player Module (MPM), Multimedia Module (Mmm), Phone Module (PHM) And Remote Digital Audio Receiver (RDAR) Module Diagnostic Trouble Codes >> ICM-Dc01: Communication Module. Faulty Signal (2007) >> Faulty Signal >> Checks >> Obtaining A Break Position Reading

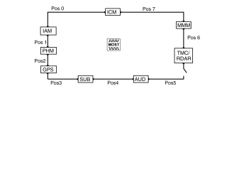
Obtaining A Break Position Reading

Fig 1: Identifying Ignition ON
GLL101051Courtesy of VOLVO CARS CORPORATION