Signal Specification
General
All the values indicated below are only described values, as the power supply is not permitted when the breakout box is connected.
NOTE:
It is important to connect the breakout box and check the ground connections before starting to measure.
| U= | DC voltage in volts (V) | UAC = | AC voltage in volts (V) |
| Ubat = | Battery voltage (V) | f = | Frequency in Hertz (Hz) |
| Ulow = | Voltage approximately 0 V | t = | Time in seconds |
| PWM = | Pulse width modulated signal as a % |
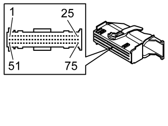
CONNECTOR C1
| Breakout box terminal | Control module terminal | Signal type | Ignition on (ignition position II or III) | Miscellaneous |
|---|---|---|---|---|
| #B1 | #C1:1 | Belt tensioner, rear left (+) | Monitoring signal during normal mode. Ignition pulse upon activation. |
- |
| #B2 | #C1:2 | Belt tensioner, rear left (-) | Monitoring signal during normal mode. Ignition pulse upon activation. |
- |
| #B3 | #C1:3 | Center rear belt tensioner (-) | Monitoring signal during normal mode. Ignition pulse upon activation. |
- |
| #B4 | #C1:4 | Center rear belt tensioner (+) | Monitoring signal during normal mode. Ignition pulse upon activation. |
- |
| #B5 | #C1:5 | Rear right seat belt tensioner (+) | Monitoring signal during normal mode. Ignition pulse upon activation. |
- |
| #B6 | #C1:6 | Rear right seat belt tensioner (-) | Monitoring signal during normal mode. Ignition pulse upon activation. |
- |
| #B7 | #C1:7 | Left inflatable curtain (-) | Monitoring signal during normal mode. Ignition pulse upon activation. |
- |
| #B8 | #C1:8 | Left inflatable curtain (+) | Monitoring signal during normal mode. Ignition pulse upon activation. |
- |
| #B9 | #C1:9 | Right inflatable curtain (+) | Monitoring signal during normal mode. Ignition pulse upon activation. |
- |
| #B10 | #C1:10 | Right inflatable curtain (-) | Monitoring signal during normal mode. Ignition pulse upon activation. |
- |
| #B11 | #C1:11 | Front passenger belt tensioner (-) | Monitoring signal during normal mode. Ignition pulse upon activation. |
- |
| #B12 | #C1:12 | Front passenger belt tensioner (+) | Monitoring signal during normal mode. Ignition pulse upon activation. |
- |
| #B13 | #C1:13 | Driver's seat belt tensioner (+) | Monitoring signal during normal mode. Ignition pulse upon activation. |
- |
| #B14 | #C1:14 | Driver's seat belt tensioner (-) | Monitoring signal during normal mode. Ignition pulse upon activation. |
- |
| #B15 | #C1:15 | Passenger's lap seatbelt tensioner (-) | Monitoring signal at normal position, Ignition pulse on activation. | Only XC60. Only certain markets. |
| #B16 | #C1:16 | Passenger's lap seatbelt tensioner (+) | Monitoring signal at normal position, Ignition pulse on activation. | Only XC60. Only certain markets. |
| #B17 | #C1:17 | Driver's lap seat belt tensioner (+) (Only certain markets) | Monitoring signal during normal mode. Ignition pulse upon activation. |
- |
| #B18 | #C1:18 | Driver's lap seat belt tensioner (-) (Only certain markets) | Monitoring signal during normal mode. Ignition pulse upon activation. |
- |
| #B19 | #C1:19 | Adaptive front passenger belt force limiter (-) (USA/CAN only) | Monitoring signal during normal mode. Ignition pulse upon activation. |
- |
| #B20 | #C1:20 | Adaptive front passenger belt force limiter (+) (USA/CAN only) | Monitoring signal during normal mode. Ignition pulse upon activation. |
- |
| #B21 | #C1:21 | Adaptive driver's belt force limiter (+) (USA/CAN only) | Monitoring signal during normal mode. Ignition pulse upon activation. |
- |
| #B22 | #C1:22 | Adaptive driver's belt force limiter (-) (USA/CAN only) | Monitoring signal during normal mode. Ignition pulse upon activation. |
- |
| #B23 | #C1:23 | Front left side impact protection (SIPS) bag (-) | Monitoring signal during normal mode. Ignition pulse upon activation. |
- |
| #B24 | #C1:24 | Front left side impact protection (SIPS) bag (+) | Monitoring signal during normal mode. Ignition pulse upon activation. |
- |
| #B25 | #C1:25 | - | - | - |
| #B26 | #C1:26 | - | - | - |
| #B27 | #C1:27 | CAN H | During communication U = 2.5 - 4.0 V. | - |
| #B28 | #C1:28 | CAN L | During communication U = 1.0 - 2.5 V. | - |
| #B29 | #C1:29 | Driver's seat position sensor, signal ground (USA/CAN only) | Ulow | - |
| #B30 | #C1:30 | Driver's seat position sensor (+) (USA/CAN only) | - | - |
| #B31 | #C1:31 | Front passenger seat position sensor (+) (USA/CAN only) | - | - |
| #B32 | #C1:32 | Front passenger seat position sensor, signal ground (USA/CAN only) | Ulow | - |
| #B33 | #C1:33 | Passenger seat belt buckle, signal ground | Ulow | - |
| #B34 | #C1:34 | Passenger seat belt buckle (+) | - | - |
| #B35 | #C1:35 | Driver's seat belt buckle (+) | - | - |
| #B36 | #C1:36 | Driver's seat belt buckle, signal ground | Ulow | - |
| #B37 | #C1:37 | Rear left belt buckle, signal ground (certain markets only) | Ulow | - |
| #B38 | #C1:38 | Rear left belt buckle (+) (certain markets only) | - | - |
| #B39 | #C1:39 | Center rear belt buckle (+) (certain markets only) | - | - |
| #B40 | #C1:40 | Center rear belt buckle, signal ground (certain markets only) | Ulow | - |
| #B41 | #C1:41 | Rear right belt buckle, signal ground (certain markets only) | Ulow | - |
| #B42 | #C1:42 | Rear right belt buckle (+) (certain markets only) | - | - |
| #B43 | #C1:43 | Front passenger belt retractor sensor (+) (USA/CAN only) | - | - |
| #B44 | #C1:44 | Front passenger belt retractor sensor, signal ground (USA/CAN only) | Ulow | - |
| #B45 | #C1:45 | Driver's belt retractor sensor, signal ground (USA/CAN only) | Ulow | - |
| #B46 | #C1:46 | Driver's belt retractor sensor (+) (USA/CAN only) | - | - |
| #B47 | #C1:47 | Side impact sensor, right front (+) | - | - |
| #B48 | #C1:48 | Side impact sensor right front, signal ground | Ulow | - |
| #B49 | #C1:49 | Side impact sensor front left, signal ground | Ulow | - |
| #B50 | #C1:50 | Side impact sensor, left front (+) | - | - |
| #B51 | #C1:51 | Side impact sensor, right rear (+) | - | - |
| #B52 | #C1:52 | Side impact sensor rear right, signal ground | Ulow | - |
| #B53 | #C1:53 | Side impact sensor rear left, signal ground | Ulow | - |
| #B54 | #C1:54 | Side impact sensor, left rear (+) | - | - |
| #B55 | #C1:55 | Right pressure sensor (+) (USA/CAN only) | - | - |
| #B56 | #C1:56 | Right pressure sensor, signal ground (USA/CAN only) | Ulow | - |
| #B57 | #C1:57 | Left pressure sensor, signal ground (USA/CAN only) | Ulow | - |
| #B58 | #C1:58 | Left pressure sensor, (+) (USA/CAN only) | - | - |
| #B59 | #C1:59 | - | - | - |
| #B60 | #C1:60 | - | - | - |
| #C1 | #C1:61 | - | - | - |
| #C2 | #C1:62 | - | - | - |
| #C3 | #C1:63 | - | - | - |
| #C4 | #C1:64 | - | - | - |
| #C5 | #C1:65 | - | - | - |
| #C6 | #C1:66 | - | - | - |
| #C7 | #C1:67 | - | - | - |
| #C8 | #C1:68 | - | - | - |
| #C9 | #C1:69 | - | - | - |
| #C10 | #C1:70 | - | - | - |
| #C11 | #C1:71 | - | - | - |
| #C12 | #C1:72 | Intern CAN_L (only USA/CAN for S80/V70/XC70 and all markets for XC60) | During communication U = 1.0 - 2.5 V. | - |
| #C13 | #C1:73 | Intern CAN_H (only USA/CAN for S80/V70/XC70 and all markets for XC60) | During communication U = 2.5 - 4.0 V. | - |
| #C14 | #C1:74 | Front right side impact protection (SIPS) bag (+) | Monitoring signal during normal mode. Ignition pulse upon activation. |
- |
| #C15 | #C1:75 | Side airbag, front right (-) | Monitoring signal during normal mode. Ignition pulse upon activation. |
- |
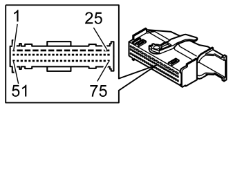
CONNECTOR C2
| Breakout box terminal | Control module terminal | Signal type | Ignition on (ignition position II or III) | Miscellaneous |
|---|---|---|---|---|
| - | #C2:1 | - | - | - |
| - | #C2:2 | Short-circuit rail, passenger airbag, stage 1 | - | Short-circuits terminals #C2:27 and #C2:28 when the connector is not connected to the control module. |
| - | #C2:3 | Short-circuit rail, passenger airbag, stage 1 | - | Short-circuits terminals #C2:27 and #C2:28 when the connector is not connected to the control module. |
| - | #C2:4 | Short-circuit rail, passenger airbag, stage 2 | - | Short-circuits terminals #C2:29 and #C2:30 when the connector is not connected to the control module. |
| - | #C2:5 | Short-circuit rail, passenger airbag, stage 2 | - | Short-circuits terminals #C2:29 and #C2:30 when the connector is not connected to the control module. |
| - | #C2:6 | - | - | - |
| - | #C2:7 | - | - | - |
| - | #C2:8 | Short-circuit rail, driver's airbag, stage 1 | - | Short-circuits terminals #C2:33 and #C2:34 when the connector is not connected to the control module. |
| - | #C2:9 | Short-circuit rail, driver's airbag, stage 1 | - | Short-circuits terminals #C2:33 and #C2:34 when the connector is not connected to the control module. |
| - | #C2:10 | Short-circuit rail, driver's airbag, stage 2 | - | Short-circuits terminals #C2:35 and #C2:36 when the connector is not connected to the control module. |
| - | #C2:11 | Short-circuit rail, driver's airbag, stage 2 | - | Short-circuits terminals #C2:35 and #C2:36 when the connector is not connected to the control module. |
| - | #C2:12 | - | - | - |
| - | #C2:13 | - | - | - |
| - | #C2:14 | - | - | - |
| - | #C2:15 | - | - | - |
| - | #C2:16 | - | - | - |
| - | #C2:17 | - | - | - |
| - | #C2:18 | - | - | - |
| - | #C2:19 | - | - | - |
| - | #C2:20 | - | - | - |
| - | #C2:21 | - | - | - |
| - | #C2:22 | - | - | - |
| - | #C2:23 | - | - | - |
| - | #C2:24 | - | - | - |
| - | #C2:25 | - | - | - |
| #A1 | #C2:26 | Collision | Normal, f = 10 Hz, PWM = 50 %. Impact registered, f = 250 Hz, PWM = 50 %, for up to 5 seconds. |
- |
| #A2 | #C2:27 | Passenger airbag, stage 1 (-) | Monitoring signal during normal mode. Ignition pulse upon activation. |
- |
| #A3 | #C2:28 | Passenger airbag, stage 1 (+) | Monitoring signal during normal mode. Ignition pulse upon activation. |
- |
| #A4 | #C2:29 | Passenger airbag, stage 2 (+) | Monitoring signal during normal mode. Ignition pulse upon activation. |
- |
| #A5 | #C2:30 | Passenger airbag, stage 2 (-) | Monitoring signal during normal mode. Ignition pulse upon activation. |
- |
| #A6 | #C2:31 | Passenger airbag stage 3 (-) (USA/CAN only) | Monitoring signal during normal mode. Ignition pulse upon activation. |
- |
| #A7 | #C2:32 | Passenger airbag stage 3 (+) (USA/CAN only) | Monitoring signal during normal mode. Ignition pulse upon activation. |
- |
| #A8 | #C2:33 | Driver airbag, stage 1 (+) | Monitoring signal during normal mode. Ignition pulse upon activation. |
- |
| #A9 | #C2:34 | Driver airbag, stage 1 (-) | Monitoring signal during normal mode. Ignition pulse upon activation. |
- |
| #A10 | #C2:35 | Driver airbag, stage 2 (-) | Monitoring signal during normal mode. Ignition pulse upon activation. |
- |
| #A11 | #C2:36 | Driver airbag, stage 2 (+) | Monitoring signal during normal mode. Ignition pulse upon activation. |
- |
| #A12 | #C2:37 | - | - | - |
| #A13 | #C2:38 | - | - | - |
| #A14 | #C2:39 | Adaptive steering column (-) (USA/CAN only) | Monitoring signal during normal mode. Ignition pulse upon activation. |
- |
| #A15 | #C2:40 | Adaptive steering column (+) (USA/CAN only) | Monitoring signal during normal mode. Ignition pulse upon activation. |
- |
| #A16 | #C2:41 | - | - | - |
| #A17 | #C2:42 | - | - | - |
| #A18 | #C2:43 | - | - | - |
| #A19 | #C2:44 | - | - | - |
| #A20 | #C2:45 | - | - | - |
| #A21 | #C2:46 | - | - | - |
| #A22 | #C2:47 | Warning light activated passenger airbag (PAE) (+) | Activated light: Pulse-width modulated signal, 0 - 12 V. Day mode: 12 V. Night mode: 3-4 V. |
Applies to 2008- |
| #A23 | #C2:48 | - | - | - |
| #A24 | #C2:49 | Front impact sensor right front, signal ground | Ulow | Does not apply to the XC60. |
| #A25 | #C2:50 | Front impact sensor right front (+) | - | Does not apply to the XC60. |
| #A26 | #C2:51 | - | - | - |
| #A27 | #C2:52 | - | - | - |
| #A28 | #C2:53 | - | - | - |
| #A29 | #C2:54 | - | - | - |
| #A30 | #C2:55 | - | - | - |
| #A31 | #C2:56 | - | - | - |
| #A32 | #C2:57 | - | - | - |
| #A33 | #C2:58 | - | - | - |
| #A34 | #C2:59 | Front passenger airbag switch, sensor A (+) (not USA/CAN) | - | - |
| #A35 | #C2:60 | Front passenger airbag switch, sensor B (+) (not USA/CAN) | - | - |
| #A36 | #C2:61 | Front passenger airbag switch, signal ground (not USA/CAN) | - | - |
| #A37 | #C2:62 | - | - | - |
| #A38 | #C2:63 | - | - | - |
| #A39 | #C2:64 | - | - | - |
| #A40 | #C2:65 | - | - | - |
| #A41 | #C2:66 | - | - | - |
| #A42 | #C2:67 | Power supply, supplemental restraint system module (SRS), 15-feed | U = Ubat | - |
| #A43 | #C2:68 | Power supply, supplemental restraint system module (SRS), 15-feed | U = Ubat | - |
| #A44 | #C2:69 | - | - | - |
| #A45 | #C2:70 | PAD lamp (+) | Activated light: Pulse-width modulated signal, 0 - 12 V. Day mode 12 V. Night mode 3-4 V. |
- |
| #A46 | #C2:71 | - | - | - |
| #A47 | #C2:72 | - | - | - |
| #A48 | #C2:73 | - | - | - |
| #A49 | #C2:74 | Front impact sensor front left, signal ground | Ulow | Does not apply to the XC60. |
| #A50 | #C2:75 | Front collision sensor left front (+) | - | Does not apply to the XC60. |