LEMON Manuals: Even more car manuals for everyone
Home >> Volvo >> 2009 >> S80 Base >> Repair and Diagnosis >> Heating, Ventilation & A/C (HVAC) >> HVAC Control Systems >> Dashboard Environment Panel (Including Climate Control Module (CCM)) - Removal And Installation >> HVAC >> Dashboard Environment Panel (Including Climate Control Module (CCM)), Replacing >> Replacing Dashboard Environment Panel

Replacing Dashboard Environment Panel

Fig 1: Identifying Ignition Key Off
GLL103058Courtesy of VOLVO CARS CORPORATION

Ignition off.

Remove the key.

NOTE:

The key must be removed to ensure that the ignition is not switched on by mistake.

NOTE:

After the key has been removed: Wait 3minutes before starting work.

Fig 2: Identifying Panel Above Gear Selector & Weatherstrip Tool
GLL104979Courtesy of VOLVO CARS CORPORATION

Remove the panel (1) above the gear selector:

Carefully pry off at the back using a weatherstrip tool.

NOTE:

The gear selector must be in the rearmost position before the dashboard environment panel can be removed.

Fig 3: Identifying Panel Above Gear Selector And Weatherstrip Tool
GLL104978Courtesy of VOLVO CARS CORPORATION

Remove: 

Fig 4: Angling Dashboard Environment Panel Outwards
GLL105218Courtesy of VOLVO CARS CORPORATION

HINT: To facilitate removal: Angle the dashboard environment panel outwards so that it is possible to insert a couple of fingers between the center console and the dashboard environment panel. 

HINT: Pull the dashboard environment panel downwards at the same angle. 

HINT: The dashboard environment panel is correctly secured. Force is required to remove it. 

Lift out the panel.

Install: 

In reverse order.

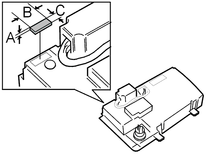
Fig 5: Identifying Component Taped On Back Of Dashboard Environment Panel
GLL105217Courtesy of VOLVO CARS CORPORATION
NOTE:

If any of the outer hooks break off, this must be "rectified".

Tape the 3.5mm thick component measuring 20 X 20mm to the reverse of the dashboard environment panel. Use double-sided adhesive tape.

Fix the other side of the piece with double-sided adhesive tape so that there is a solid anchorage when reinstalling against the center console.