LEMON Manuals: Even more car manuals for everyone
Home >> Volvo >> 2009 >> S80 Base >> Repair and Diagnosis (Single Page) >> Engine Performance >> Engine Control Systems >> Ignition And Engine Control Systems - Specifications, Electrical/Electronic >> Component Specifications, Engine Control Module (ECM) >> Component Specifications (B8444S; 2007-2010) >> Component Specification Supplementary Information, Engine Control Module (ECM) >> Engine Speed Sensor, Crankshaft

Engine Speed Sensor, Crankshaft

GENERAL 

Fig 1: Identifying Crankshaft Sensor
GLL139679Courtesy of VOLVO CARS CORPORATION

Type 

Inductive sensor with permanent magnet. Output voltage is proportional to the magnet flow's change through the sensor. Higher rpm = higher voltage.

Characteristic 

Output voltage 5 - 16V at 650 rpm.

Output voltage ≥ 100V at 7000 rpm.

Other information 

Certain markets only.

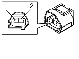
TERMINAL 

Connector terminal Control module terminal Signal type Other
#1 #A6 Signal - Sinus voltage. Voltage increases with increasing rpm.
#2 #A30 Signal + Sinus voltage. Voltage increases with increasing rpm.
Fig 2: Identifying 2-Pin Connector Terminals
GLL139895Courtesy of VOLVO CARS CORPORATION

CHECK 

Prerequisites (unless otherwise specified):

Fig 3: Identifying Voltage Reading
GLL159811Courtesy of VOLVO CARS CORPORATION

Check 1 

Engine rpm sensor:

Measure alternating voltage between #A6 and #A30. The value should be:

U≈ 5 - 16V at idle (650 rpm).

U ≥ 100V at 7000 rpm.

NOTE:

The voltage reaches its highest value immediately after the gap in the flywheel.

NOTE:

The control module interprets that the curve is symmetric. No check of voltage level.

Check 2 

Engine rpm sensor:

Measure resistance between #A6 and #A30. The value should be:

125.5Ω ± 17Ω at +20 °C.