LEMON Manuals: Even more car manuals for everyone
Home >> Volvo >> 2009 >> S80 Base >> Repair and Diagnosis (Single Page) >> Electrical >> Body Electrical >> Accessory USB Unit (AUU) And Central Electronic Module (CEM) - Specifications >> Signal Specification, Accessory USB Unit (AUU) >> Signal Specification (2007-11)

Signal Specification (2007-11)

U= DC voltage in volts (V) UAC = AC voltage in volts (V)
Ubat = Battery voltage (V) f = Frequency in Hertz (Hz)
Ulow = Voltage approximately 0 V t = Time in seconds
PWM = Pulse width modulated signal as a % - -
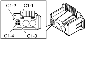
Fig 1: Identifying Connector C1
GLL157885Courtesy of VOLVO CARS CORPORATION
CONNECTOR C1

Breakout box terminal  Control module terminal  Signal type  Ignition on 
- #C1-1 Power supply U = Ubat
- #C1-2 Ground, power supply U = Ulow
- #C1-3 Reserve -
- #C1-4 Reserve -
Fig 2: Identifying Connector C2
GLL157886Courtesy of VOLVO CARS CORPORATION
CONNECTOR C2

Breakout box terminal  Control module terminal  Signal type  Ignition on 
- #C2-1 MOST input signal Optical input signal when the MOST network is activated
- #C2-2 MOST output signal Optical output signal when the MOST network is activated