LEMON Manuals: Even more car manuals for everyone
Home >> Volvo >> 2009 >> S80 Base >> Repair and Diagnosis (Single Page) >> Brakes >> Traction Control >> Brake Control Module (BCM) - Specifications, Electrical/Electronic >> Brake Control Module (BCM) >> Component Specifications >> Wheel Sensor 7/31, 7/32, 7/56, 7/57 >> Terminal

Wheel Sensor 7/31, 7/32, 7/56, 7/57: Terminal

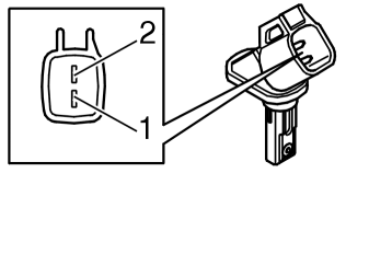
Front wheel sensor 

Fig 1: Identifying Hall Sensor (Active Sensor) Terminals
GLL140606Courtesy of VOLVO CARS CORPORATION

Rear wheel sensor 

Fig 2: Identifying Hall Sensor (Active Sensor) Terminals
GLL140606Courtesy of VOLVO CARS CORPORATION
Connector terminal Control module terminal Signal type Other
#1 #45 Power supply, front left The sensor receives 12 V from the control module.
- #14 Signal output left front Taxi signal. The signal can be used to check the wheel sensor's signal
#2 #46 Signal ground The sensor is grounded through the control module.
#1 #36 Power supply, rear left The sensor receives 12 V from the control module.
- #9 Signal output left rear Taxi signal. Can be used to check the wheel sensor's function
#2 #37 Signal ground The sensor is grounded through the control module.
#1 #34 Power supply, front right The sensor receives 12 V from the control module.
- #11 Signal output right front Taxi signal. Can be used to check the wheel sensor's function.
#2 #33 Signal ground The sensor is grounded through the control module.
#1 #43 Power supply, rear right The sensor receives 12 V from the control module.
- #7 Signal output right rear Taxi signal. Can be used to check the wheel sensor's function.
#2 #42 Signal ground The sensor is grounded through the control module.