LEMON Manuals: Even more car manuals for everyone
Home >> Volvo >> 2009 >> S60 Base, AWD >> Repair and Diagnosis >> Electrical >> Body Electrical >> Central Electronic Module (CEM), Rear Electronic Module (Rem), Upper Electronics Module (UEM) - Diagnostic Trouble Codes - 9 Of 13 >> CEM-8FA3: Relay, Signal Horn. No Signal. Permanent Fault (2001-2004) >> Signal Missing. Permanent Fault >> Checking For An Open-Circuit Between the Control Module And the Relay

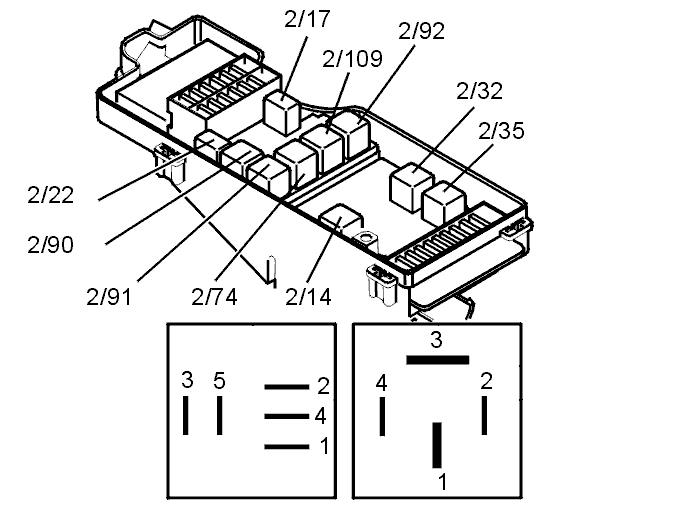
Checking For An Open-Circuit Between the Control Module And the Relay

Check the driver circuit for the relay coil for an open-circuit as follows:

Activate the relay driver. Measure the voltage between terminals #1 and #2 on the relay base. For further information about open-circuits.

HINT: The voltage between terminals #1 and #2 should be battery voltage. If the value deviates markedly, check the voltage between terminal #2 and the battery and between terminal #1 and ground. Both must be the same as the battery voltage. 

Also check the signal loop between relay terminal #2 (2/17) and central electronic module (CEM) terminal #19A. Check for an open-circuit.

Other information: 

Fig 1: Identifying Ohmmeter
GLL101042Courtesy of VOLVO CARS OF NORTH AMERICA.
Fig 2: Identifying Relays And Terminals
GLL104050Courtesy of VOLVO CARS OF NORTH AMERICA.

Was a fault detected?