Checking The Wiring
- Ignition off
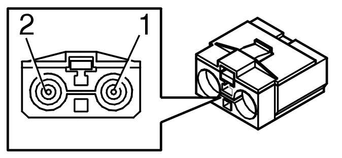
- Disconnect the connector for the traffic message channel module (TMC).
Check the terminals. Check for contact resistance. Check for loose connections. Check for oxidation.
Check the antenna cable between the traffic message channel module (TMC) and the antenna amplifier. Check for a short-circuit to supply voltage.
Take readings between:
- Traffic message channel module (TMC) terminal #1 and antenna amplifier terminal #1.
Remedy as necessary.
Other information
- see SIGNAL SPECIFICATION
- see LOCATION OF COMPONENTS
- see TRAFFIC BULLETIN MODULE
- see CONTENTS
- Continue
Refer to VERIFICATION