LEMON Manuals: Even more car manuals for everyone
Home >> Volvo >> 2009 >> C70 Automatic >> Repair and Diagnosis >> Accessories & Equipment >> Infotainment >> Media, Communication And Navigation - Specifications, Electrical/Electronic >> Signal Specification, Subwoofer Module (Sub) (2006-2007) >> Signal Specification

Signal Specification

General 

All the values given below are between the respective terminal in column 1 and terminal #A2 in column 2 (power ground) unless otherwise stated in brackets after the table entry.

NOTE:

It is important to connect the breakout box and check the ground terminals before taking readings.

U= DC voltage in volts (V) Ulow = Voltage approximately 0 V
Ubat = Battery voltage (V)    
Fig 1: Connector, Black (2-Pin)
GLL104016Courtesy of VOLVO CARS CORPORATION
CONNECTOR A

Terminal  Breakout box terminal  Signal type  Ignition on  Other 
#A1 #45 30 supply U = Ubat  
#A2 #46 Ground U=Ulow  
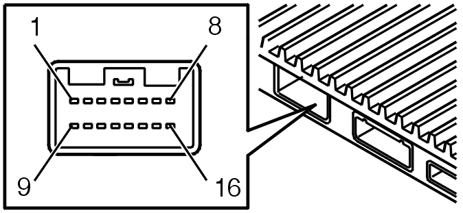
Fig 2: Identifying Connector B
GLL101917Courtesy of VOLVO CARS CORPORATION
CONNECTOR B

Terminal  Breakout box terminal  Signal type  Ignition on  Other 
#B1 #1 Not connected    
#B2 #2 Not connected    
#B3 #3 Subwoofer 1(-) Analog output signal when the loudspeaker is in use  
#B4 #4 Not connected    
#B5 #5 Subwoofer 2(-) Analog output signal when the loudspeaker is in use  
#B6 #6 Not connected    
#B7 #7 Not connected    
#B8 #8 Not connected    
#B9 #9 Subwoofer 1(+) Analog output signal when the loudspeaker is in use  
#B10 #10 Not connected    
#B11 #11 Not connected    
#B12 #12 Subwoofer 2(+) Analog output signal when the loudspeaker is in use  
#B13 #13 Not connected    
#B14 #14 Not connected    
#B15 #15 Not connected    
#B16 #16 Not connected    
Fig 3: Identifying Connector D
GLL101916Courtesy of VOLVO CARS CORPORATION
CONNECTOR C

Terminal  Breakout box terminal  Signal type  Ignition on  Other 
#C1   MOST input signal   Optical input signal when the MOST network is activated
#C2   MOST output signal   Optical output signal when the MOST network is activated