LEMON Manuals: Even more car manuals for everyone
Home >> Volvo >> 2009 >> C30 R-Design, Standard >> Repair and Diagnosis >> External Pages >> Different variant/trim >> Section 7 (Transmission Control Module Diagnostic Trouble Codes - 2 Of 2) >> TCM-Dd01: Control Module Communication. Communication Fault (Aw55-50/51SN; 2007-2013) >> Communication Fault (2011 Late-2013) >> Checking The Components And Wiring

Checking The Components And Wiring

WARNING: This page is about a different variant/trim than selected.

Check the communication cable (LIN) with regard to short circuit to ground or supply voltage.

Take readings between:

If no fault can be found in the cable and the fault remains try replacing the printed circuit board (gear selector module (GSM)).

HINT: The gear selector module (GSM) connector can be accessed by removing the cigarette lighter/electrical outlet. 

Other information 

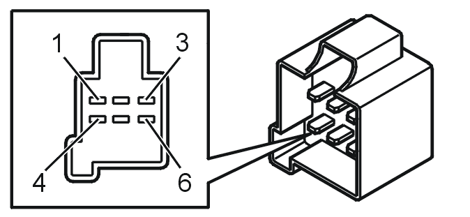
Fig 1: Transmission Control Module Connector Terminal Identification
GLL142131Courtesy of VOLVO CARS CORPORATION
Fig 2: Identifying Ohms Display
GLL101042Courtesy of VOLVO CARS CORPORATION
Fig 3: Identifying Top Panel Assembly
GLL140002Courtesy of VOLVO CARS CORPORATION