LEMON Manuals: Even more car manuals for everyone
Home >> Volvo >> 2009 >> C30 R-Design, Standard >> Repair and Diagnosis >> Engine Performance >> System >> Engine Control Module (ECM) Diagnostic Trouble Codes - 5 Of 8 >> ECM-433D: Leak Diagnostic Unit, Pump. Signal Too Low (B5254T3; 2007-2008) >> Signal Too Low >> Checking Components And Wiring

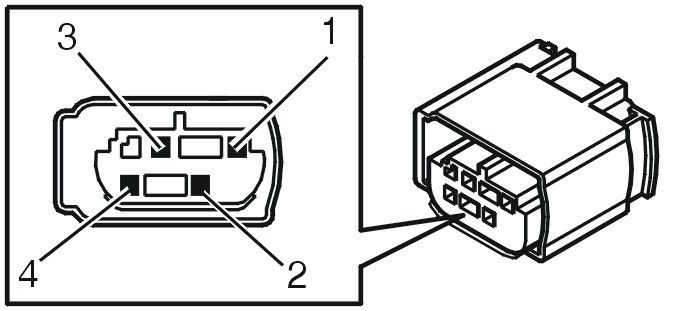
Checking Components And Wiring

Check the pump motor's resistance between the leakage diagnostic unit's connector #1 and #4 (against the leakage diagnostics pump).

Check the signal cable. Check for a short-circuit to ground.

Take readings between:

Try a new leakage diagnostics unit if no defect is found during the above troubleshooting.

Remedy as necessary.

Other information 

Fig 1: Identifying Leak Diagnostic Unit Connector Terminals
GLL104218Courtesy of VOLVO CARS CORPORATION
Fig 2: Identifying Volvo Leak Detection Pump (Leak Diagnostic Unit)
GLL147055Courtesy of VOLVO CARS CORPORATION