LEMON Manuals: Even more car manuals for everyone
Home >> Volvo >> 2008 >> XC70 >> Repair and Diagnosis >> Engine Performance >> Engine Control Systems >> Electrical Modules And Components - Design And Function - 5 Of 5 >> Suspension Module (Sum) >> Function >> Continuously Controlled Chassis Concept (Four-C)

Continuously Controlled Chassis Concept (Four-C)

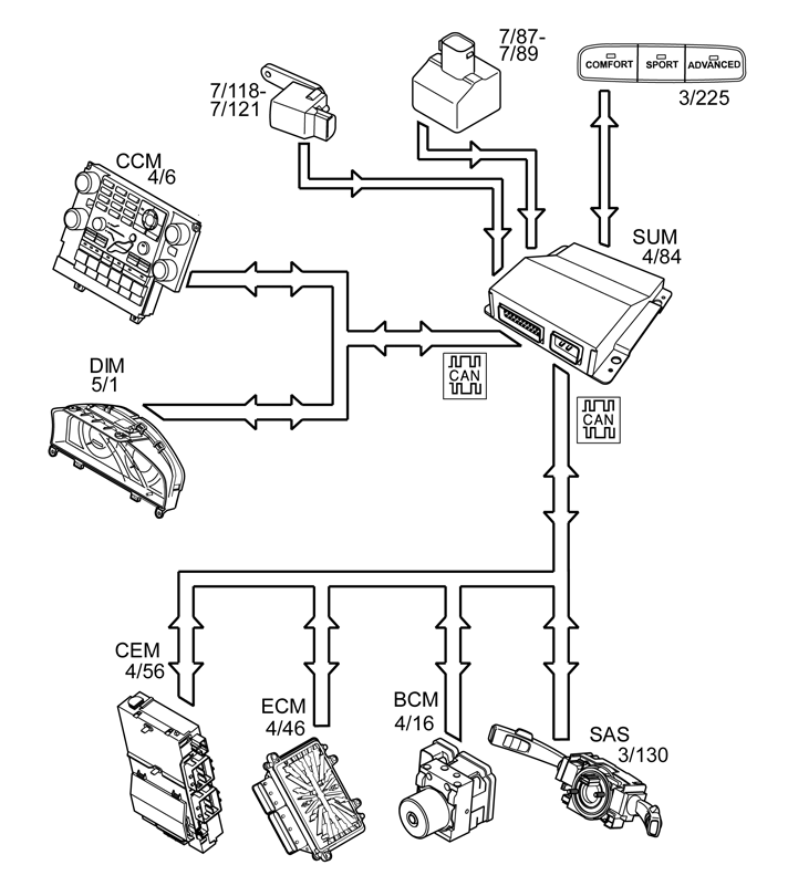
Fig 1: Identifying Four-C System
GLL179636Courtesy of VOLVO CARS CORPORATION

Four-C is a system that individually regulates damping in the shock absorbers whilst driving. The Suspension module (SUM) controls the functions for Four-C.

By regulating the damping in the shock absorbers the compromise between ride comfort, road grip and steering characteristics becomes considerably better than with traditional shock absorbers.

Suspension module (SUM) (4/84) receives signals from the height sensor (7/118-121) and acceleration sensor (7/87-89). Using information about the vehicles movements, together with information from other control modules the Suspension module (SUM) can adjust the shock absorber damping in relation to the driving conditions and driving mode.

The Suspension module (SUM) constantly assesses the driving style by monitoring the brake pressure and steering wheel angle. The information that the Suspension module (SUM) receives via the CAN network consists of:

Comfort can be prioritized when driving straight ahead. When cornering, damping is increased to minimize roll and give the vehicle a more sporty feel. If there is sudden under- or oversteer, the damping is reduced to optimize grip. Grip is always the priority of the system, even during heavy braking or when the ABS system engages.

When driving on uneven surfaces, for example, on dirt roads, the system works to ensure that the pressure of the wheels on the road surface is as even as possible to maintain contact with the road in all situations.

The damping forces are controlled individually for all four wheels and are updated 500 times per second.

Information about the body's height position rear is sent from Suspension module (SUM) to Headlamp Control Module (HCM) (4/118) via CAN-net (Applies up to and incl. structure week 201119). From structure week 201120 this information is sent to Central electronic module (CEM) (4/56). The information is also used by receiving control module to calculate current angle for the headlights' light beam length adjustment.

The intensity of the lighting in the switches is partially controlled manually and partially controlled automatically by the twilight sensor. Manual control occurs together with lighting in other instrumentation. The signal is transmitted from the light switch module (LSM) (3/111) to the suspension module (SUM) via the control area network (CAN), and then on to the switch via a directly connected cable.

Automatic control occurs via the twilight sensor on the Climate control module (CCM). The signal is transmitted from the climate control module (CCM) (4/6) to the suspension module (SUM) via the control area network (CAN) and then on to the switch via a directly connected cable

If the Four-C function is not working, the shock absorbers act like standard passive shock absorbers. In the event of a fault in the system, a text message is displayed in the driver information module (DIM) indicating that a service is required.

The Suspension module informs the Central electronic module, via the CAN network, that it is active.

The Four-C function is not active when the vehicle is stationary. The function is activated automatically when the vehicle reaches a certain speed.