LEMON Manuals: Even more car manuals for everyone
Home >> Volvo >> 2008 >> XC70 >> Repair and Diagnosis >> Engine Performance >> Engine Control Systems >> Electrical Modules And Components - Design And Function - 5 Of 5 >> Suspension And Steering >> Design And Function >> Steering >> Steering Gear, Design

Steering Gear, Design

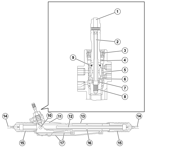
Fig 1: Identifying Steering Gear Components
GLL157530Courtesy of VOLVO CARS CORPORATION
Number  Designation  Number  Designation 
1 Input shaft 10 Actuating piston
2 Pinion/Torsion bar 11 Steering gear housing
3 Dust boot 12 Rack
4 Seal 13 Cylinder pipe
5 Rotary valve 14 Tie rod
6 Seal 15 Protective bellow
7 Journal bearing 16 Seal
8 Gear drive 17 Internal pipe.
9 Roller bearing    

This description refers to the steering gear on left-hand drive vehicles. The gear in right-hand drive vehicles is a mirror image of the left-hand drive version. There is also a speed dependent steering gear.

The steering gear is of the rack and pinion type with the mechanical and servo assisted elements combined in one module.

The mechanical element consists of the gear drive (8), steering rack (12) and tie rods (14).

The gear drive is carried by a journal bearing (7) and a roller bearing (10) in the steering gear housing.

The steering rack is carried by a journal bearing on the right end and in the housing is guided by the gear drive (8) and the sprung actuating piston (9).

A cylinder pipe (13) is secured to the steering gear housing (11). This pipe functions as the power steering working cylinder for the hydraulic piston fastened to the steering rack.

The oil flow to the hydraulic cylinder is regulated in the valve housing which is integrated into the steering gear housing.

Valve section 

The gear drive is driven by the steering gear input shaft (1) which has exterior lugs. There is radial play between the lugs.

A torsion bar (2) which joins the input shaft to the gear drive holds the lugs in a position where the play is equal on each side when there is no steering input on the shaft.

The torsion bar is pressed into the gear drive. The gear drive is fastened to the input shaft with a pressed in lock pin.

A rotary valve (5) is located in the valve assembly and fixed to the gear drive with a lock pin. The valve operating range is radial between four narrow vertical channels in the rotary valve and four milled grooves in the input shaft.

The valve is balanced as a complete unit and cannot be rebalanced.