LEMON Manuals: Even more car manuals for everyone
Home >> Volvo >> 2008 >> XC70 >> Repair and Diagnosis >> Accessories & Equipment >> Infotainment >> Media, Communication And Navigation - Specifications, Electrical/Electronic >> Infotainment Control Module (ICM) >> Signal Description, Infotainment Control Module (ICM) (2012)

Signal Description, Infotainment Control Module (ICM) (2012)

General 

All the values given below are between the respective terminal in column 1 and terminal #A10 in column 1 (power ground) unless otherwise stated in brackets after the table entry.

NOTE:

It is important to connect the breakout box and check the ground connections before starting to measure.

U= DC voltage in volts (V) UAC = AC voltage in volts (V)
Ubat = Battery voltage (V) f = Frequency in Hertz (Hz)
Ulow = Voltage approximately 0 V t = Time in seconds
PWM = Pulse width modulated signal as a %    

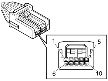
Connector C1 

Fig 1: Identifying Connector C1
GLL174407Courtesy of VOLVO CARS CORPORATION
Breakout box terminal  Control module terminal  Signal type  Ignition on  Ignition off  Miscellaneous 
#1 #C1-1 CAN L#2 U = 2.5 - 3.5 V U = Ulow  
#2 #C1-2 CAN H#2 U = 2.5 - 3.5 V U = Ulow  
#3 #C1-3 LIN SWS U = 8 V U = Ulow  
#4 #C1-4 Reserve      
#5 #C1-5 Ground, power supply U = Ulow U = Ulow  
#6 #C1-6 Reserve      
#7 #C1-7 Reserve      
#8 #C1-8 30 supply U = Ubat U = Ubat  
#9 #C1-9 CAN L#1 U = 2.5 - 3.5 V U = Ulow  
#10 #C1-10 CAN H#1 U = 2.5 - 3.5 V U = Ulow  
#11 #C1-11        
#12 #C1-12        
#13 #C1-13 Ground, power supply U = Ulow U = Ulow  
#14 #C1-14 Reserve      
#15 #C1-15 Reserve      
#16 #C1-16 30 supply U = Ubat U = Ubat  

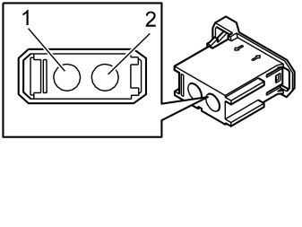
Connector C2 

Fig 2: Identifying Connector MOST (Optical Signal)
GLL153820Courtesy of VOLVO CARS CORPORATION
CONNECTOR C2

Breakout box terminal  Control module terminal  Signal type  Ignition on  Miscellaneous 
- #C2-1 Input signal, MOST --- Optical input signal
- #C2-2 Output signal, MOST --- Optical output signal

Connector C3 (Blue) 

Fig 3: Identifying Connector C3 (Blue)
GLL178682Courtesy of VOLVO CARS CORPORATION
CONNECTOR C3 (BLUE)

Breakout box terminal  Control module terminal  Signal type  Ignition on  Miscellaneous 
- #C3-1 Digital video signal (-) from IAM   LVDS
- #C3-2 Digital video signal (+) from IAM   LVDS
- #C3-3 Ground, power supply U = Ulow LVDS

Connector C4 (green) 

Fig 4: Identifying Signal Table, Connector C
GLL139875Courtesy of VOLVO CARS CORPORATION
CONNECTOR C4 (GREEN)

Breakout box terminal  Control module terminal  Signal type  Ignition on  Miscellaneous 
- #C4-1 Analogue video signal from TVM or RSE.   CVBS
- #C4-2 Ground, power supply U = Ulow CVBS

Connector C5 (brown) 

Fig 5: Identifying Signal Table, Connector C
GLL139875Courtesy of VOLVO CARS CORPORATION
CONNECTOR C5 (BROWN)

Breakout box terminal  Control module terminal  Signal type  Ignition on  Miscellaneous 
- #C5-1 Analogue video signal from PAC.   CVBS
- #C5-2 Ground, power supply U = Ulow CVBS

Connector C6 

Fig 6: Identifying Connector C6
GLL178683Courtesy of VOLVO CARS CORPORATION
CONNECTOR C6

Breakout box terminal  Control module terminal  Signal type  Ignition on  Miscellaneous 
- #C6-1      
- #C6-2 Analogue differential video signal 1   CVBS
- #C6-3 Ground, power supply U = Ulow CVBS
- #C6-4 Analogue differential video signal 2   CVBS
- #C6-5      

Connector C7 (only for 5 inch screens) 

Fig 7: Identifying Connector C7 (Only For 5 Inch Screens)
GLL178682Courtesy of VOLVO CARS CORPORATION
CONNECTOR C7 (ONLY FOR 5 INCH SCREENS)

Breakout box terminal  Control module terminal  Signal type  Ignition on  Miscellaneous 
- #C7-1 Power supply   USB
- #C7-2 Data (-)   USB
- #C7-3 Data (+)   USB
- #C7-4 Ground, power supply U = Ulow USB
- #C7-5 Ground   USB