LEMON Manuals: Even more car manuals for everyone
Home >> Volvo >> 2008 >> V70 >> Repair and Diagnosis >> Accessories & Equipment >> Drivers Assistance Systems - ADAS >> Alarm, Electrical Control Modules, Brakes, Brake Control Module (BCM) - Design And Function >> Central Electronic Module (CEM) >> Function >> Front Fog Lamps

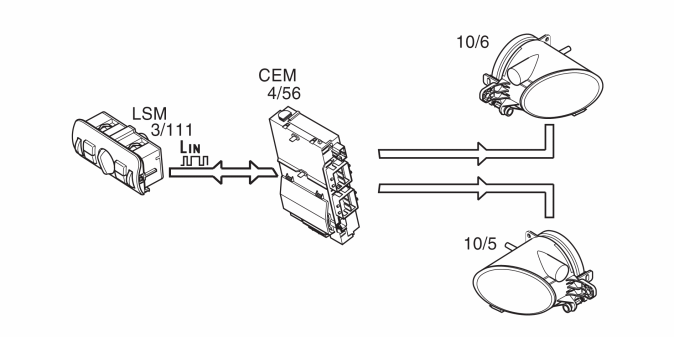
Front Fog Lamps

Fig 1: Identifying Front Fog Lamps
GLL154708Courtesy of VOLVO CARS CORPORATION

The front fog lights (10/5-6) are activated by pushing the front fog light button in the light switch module (LSM) (3/111).

The central electronic module (CEM) (4/56) receives a request to turn on the front fog lights from the light switch module (LSM) via LIN communication.

The lights are supplied power via an internal relay on the central electronic module (CEM).