LEMON Manuals: Even more car manuals for everyone
Home >> Volvo >> 2007 >> S60 Base, FWD >> Repair and Diagnosis >> Electrical >> Motors, Switches, Relays >> Control Modules - Signal Specifications >> Signal Description, Central Electronic Module (CEM) (2005-2009) >> Signal Specification

Signal Specification

General 

All the values given below are between the terminals stated in column 1 and terminal #D6 in column 2 (power ground). This applies unless otherwise indicated in the last column.

NOTE:

It is important that the breakout box is connected and that the ground connections have been checked before starting to measure.

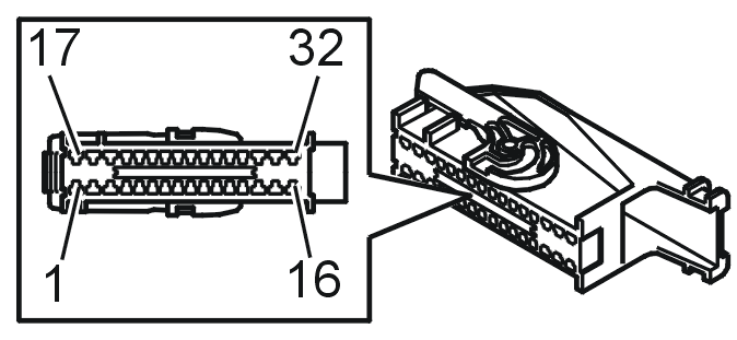
Fig 1: Identifying Central Electronic Module (CEM) Connectors
GLL150240Courtesy of VOLVO CARS OF NORTH AMERICA.
Fig 2: Identifying Connector A
GLL146490Courtesy of VOLVO CARS OF NORTH AMERICA.
U= DC voltage in volts (V) t = Time in milliseconds (ms)
Ubat = Battery voltage (V) f = Frequency in Hertz (Hz)
Ulow = Voltage approximately 0 V % duty Duty cycle (pulse ratio) as a percentage (%)
Connector A
Breakout box terminal  Control module terminal  Signal type  Ignition off 
Active / Not active
Ignition on 
Active / Not active
Miscellaneous 
#1 #A1 Reserve      
#2 #A2 Reserve      
#3 #A3 Extended X-supply (3) Ulow Ubat (Ignition switch position I & II) XC90, Infotainment.
#4 #A4 Bifuel, power supply to the rear electronic module (REM) Ulow Ubat (Ignition switch position II & III)  
#5 #A5 Reserve      
#6 #A6 X supply (Voltage supply from ignition switch) Ulow Ubat (Ignition switch position I & II) RTI/Radio
#7 #A7 Reserve      
#8 #A8 15-supply (Power supply from ignition switch) Ulow Ubat (Ignition switch position II & III)  
#9 #A9 Reserve      
#10 #A10 Extended X-supply (1) Ubat Ubat Certain climate functions
#11 #A11 Reserve      
#12 #A12 Left turn signal lamp Ulow Ulow -Ubat (Ignition position II) / Ulow Pulsed signal, f = approximately 1.5 Hz
#13 #A13 Reserve      
#14 #A14 Reserve      
#15 #A15 Stop lamps, power supply Ubat /Ulow Ubat /Ulow Does not go to the centrally located brake light (CAN-signal)
#16 #A16 Fuel pump (FP), power supply Ulow Ubat /Ulow  
#17 #A17 Cigarette lighter, power supply Ulow Ubat  
#18 #A18 Passenger seat heater, power supply Ubat Ubat  
#19 #A19 Driver seat heater, power supply Ubat Ubat  
#20 #A20 Collision signal Ulow Ubat /Ubat Active in the event of a collision
#21 #A21 Reserve      
#22 #A22 Power passenger seat, power supply Ulow Ubat  
#23 #A23 Circulation pump saddle tank, voltage feed Ulow Ubat /Ulow Only applies to vehicles from model year 2007
#24 #A24 Reserve      
#25 #A25 Extended X-supply (2) Ubat Ubat Ubat for 10 seconds after the key is removed, then Ulow
Gear selector module (GSM).
#26 #A26 Reserve      
#27 #A27 Steering wheel angle sensor module (SAS), power supply Ulow Ubat (Ignition switch position II & III)  
#28 #A28 Reserve      
#29 #A29 Rear right-hand turn signal lamp, power supply Ulow Ulow -Ubat (Ignition position II) / Ulow Pulsed signal, f = approximately 1.5 Hz
#30 #A30 Reserve      
#31 #A31 Reserve      
#32 #A32 Reserve      
Fig 3: Identifying Connector B
GLL146491Courtesy of VOLVO CARS OF NORTH AMERICA.
Connector B
Breakout box terminal  Control module terminal  Signal type  Ignition off 
Active / Not active
Ignition on 
Active / Not active
Miscellaneous 
#1 #B1 Contact breaker, vacuum pump Ulow Ubat (Ignition switch position II & III)  
#2 #B2 30-supply to the central electronic module (CEM) Ubat Ubat Right low beam
#3 #B3 30-supply to the central electronic module (CEM) Ubat Ubat Left low beam
#4 #B4 Right low beam Ulow Ubat /Ulow Ulow when turning the engine
#5 #B5 Reserve      
#6 #B6 Reserve      
#7 #B7 Left low beam Ulow Ubat /Ulow Ulow when turning the engine
#8 #B8 Daytime running lamps left Ubat /Ulow Ubat /Ulow  
#9 #B9 Daytime running lamps right Ubat /Ulow Ubat /Ulow  
#10 #B10 Extended X-supply (1) Ubat Ubat Parking heater. Certain climate control functions.
#11 #B11 30-supply to the stop lamp switch Ubat Ubat  
#12 #B12 Reserve      
#13 #B13 Reserve      
#14 #B14 Reserve      
#15 #B15 Power supply to the horn Ubat /Ulow Ubat /Ulow  
#16 #B16 30-supply, fuel pump (FP) Ubat Ubat  
#17 #B17 Front fog lamp, left Ulow Ubat /Ulow  
#18 #B18 Front fog lamp, right Ulow Ubat /Ulow  
#19 #B19 Headlamp washer Ulow Ubat (Ignition switch position I & II)  
#20 #B20 Extended X-supply (2) Ubat Ubat Ubat for 10 seconds after the key is removed, then Ulow
Transmission control module (TCM)
#21 #B21 Front washer motor Ulow Ubat /Ulow  
#22 #B22 Power supply ABS/DSTC Ulow Ubat (Ignition switch position II & III)  
#23 #B23 Voltage supply headlamp alignment Ulow Ubat at ignition switch positions II and III/U low  
#24 #B24 Power supply to the parking lamps Ubat Ubat  
#25 #B25 Siren control module (SCM) Ubat /Ulow Ubat /Ulow  
#26 #B26 30-supply to the engine control module (ECM) Ubat Ubat  
#27 #B27 Full beam, left Ubat /Ulow Ubat /Ulow  
#28 #B28 High beam, right Ubat /Ulow Ubat /Ulow  
#29 #B29 Rear washer motor Ulow Ubat /Ulow  
#30 #B30 Headlamp washer Ulow Ubat /Ulow  
#31 #B31 Left turn signal lamp Ulow Ulow -Ubat / U low  
#32 #B32 Right turn signal lamp Ulow Ulow -Ubat / U low  
Fig 4: Identifying Connector C
GLL146493Courtesy of VOLVO CARS OF NORTH AMERICA.
Connector C
Breakout box terminal  Control module terminal  Signal type  Ignition off 
Active / Not active
Ignition on 
Active / Not active
Miscellaneous 
#1 #C1 Status signal from the left-hand gas discharge lamp module (GDL) Ulow Ubat minus approx. 1.5V in ignition position II, Ubat in ignition position I; regardless of being active/not active  
#2 #C2 Status signal from the right-hand gas discharge lamp module (GDL) Ulow Ubat minus approx. 1.5V in ignition position II, Ubat in ignition position I; regardless of being active/not active  
#3 #C3 Windshield wiper, high speed Ulow Ulow if wipers not on; Ubat only when wipers move intermittently; Ubat when wipers move continuously at low speed; Ulow when the wipers move at high speed  
#4 #C4 Windshield wipers Off/On Ubat Ubat if the wipers are not on; U low only during intermittent wiping; U low when low speed wiping; Ulow during high speed wiping  
#5 #C5 50-supply to the engine control module (ECM) Ulow Ubat only in ignition switch position III  
#6 #C6 Starter motor relay Ulow U= 2.7 V  
#7 #C7 Control signal, starter motor relay Ulow Ubat /Ulow Ubat in ignition switch position 3, otherwise U low
#8 #C8 Reserve      
#9 #C9 Auxiliary lamps Ulow Ubat /Ulow  
#10 #C10 Washer fluid level sensor Ubat if the tank is not empty; Ulow if less than 1 liter.  
#11 #C11 Control signal for the right-hand headlamp alignment motor Ulow Ubat /Ulow  
#12 #C12 Control signal for the left-hand headlamp alignment motor Ulow Ubat /Ulow  
#13 #C13 Reserve      
#14 #C14 15-supply to the engine control module (ECM) Ulow Ubat (Ignition switch position II & III) / U low otherwise  
#15 #C15 Wake up signal to ECM U = 0V/Ubat . Ignition position I: U = 0V/Ubat. Ignition position II & III: U = Ubat Ubat a time after ignition position 0 or I has been selected. Then 0 V.
#16 #C16 LIN bus communication During communication the voltage is 0V - Ubat  
#17 #C17 Speed signal Ulow Ulow -Ubat Frequency signal, increases with speed
#18 #C18 Reserve      
#19 #C19 Parking lamps, left-hand front Ubat /Ulow Ubat /Ulow  
#20 #C20 Parking lamps, right front Ubat /Ulow Ubat /Ulow  
#21 #C21 Communication CAN_H high speed network The voltage is 2.0-3.5 V during communication  
#22 #C22 Communication CAN_L high speed network The voltage is 1.5-2.5 V during communication  
#23 #C23 Communication CAN_H high speed network The voltage is 2.0-3.5 V during communication Brake control module
#24 #C24 Communication CAN_L high speed network The voltage is 1.5-2.5 V during communication Brake control module
#25 #C25 High-pressure cleaning pump Ubat Ulow / Ubat  
#26 #C26 Reserve      
#27 #C27 Reserve      
#28 #C28 Control signal, gear selector module (GSM) P/N position   Ubat /Ulow  
#29 #C29 Reserve      
#30 #C30 Reserve      
#31 #C31 Input signal, windshield wipers U=10.9V Ulow as long as the wiper arm is not in the start position. When the wiper arm is in the start position, the voltage increases to U = 10.9V / Not active: U= 10.9V  
#32 #C32 Volcano Lite CAN H The voltage is 8.5-9.5 V during communication  
#33 #C33 Reserve      
#34 #C34 Stop lamp switch signal Ubat /Ulow Ubat /Ulow  
#35 #C35 Stop lamp switch signal Ubat /Ulow Ubat /Ulow  
#36 #C36 Reserve      
Fig 5: Identifying Connector D
GLL146492Courtesy of VOLVO CARS OF NORTH AMERICA.
Connector D
Breakout box terminal  Control module terminal  Signal type  Ignition off 
Active / Not active
Ignition on 
Active / Not active
Miscellaneous 
#1 #D1 Courtesy lighting left front Ulow -Ubat / U low Ulow -Ubat / U low Pulsed signal, f = approximately 100 Hz.
#2 #D2 Courtesy lighting right front Ulow -Ubat / U low Ulow -Ubat / U low Pulsed signal, f = approximately 100 Hz.
#3 #D3 Courtesy lighting, left rear Ulow -Ubat / U low Ulow -Ubat / U low Pulsed signal, f = approximately 100 Hz.
#4 #D4 Courtesy lighting, right rear Ulow -Ubat / U low Ulow -Ubat / U low Pulsed signal, f = approximately 100 Hz.
#5 #D5 Reserve      
#6 #D6 Power ground U low /Ulow  
#7 #D7 Windshield wipers (Limp Home) Ubat /Ulow Ubat /Ulow  
#8 #D8 X supply (Voltage supply from ignition switch) U bat (Ignition switch positions I and II); Ulow otherwise  
#9 #D9 Signal (+) glove compartment lighting Ubat Ubat 30 minutes after the ignition is switched off, Ulow
#10 #D10 Seat position sensor, driver Ubat / Ubat /  
#11 #D11 Rain sensor Ulow / Ubat Ulow / Ubat  
#12 #D12 Pulse width modulated signal (+) to rheostat Ulow -Ubat if active, Ulow otherwise  
#13 #D13 Signal (+) ignition switch illumination Ubat /Ulow Ubat /Ulow  
#14 #D14 Lamp, switch, hazard warning signal flashers, power supply. Ubat -U low if activated; Ulow otherwise  
#15 #D15 S-supply (Power supply from ignition switch) U bat (Ignition switch positions 0, I, II and III); Ulow otherwise Ulow with key removed.
#16 #D16 15-supply (Power supply from ignition switch) U bat (Key in positions II and III); Ulow otherwise  
#17 #D17 Signal (-) from horn switch Ulow / Ubat Ulow / Ubat  
#18 #D18 Seat position sensor, passenger Ulow Ubat Reference.
#19 #D19 Collision output signal to the phone (from the Supplemental Restraint System Module (SRS))      
#20 #D20 Signal (-) from the SRS-control module (airbag OK) Ubat below 200 ms if the airbag is triggered, U low if the airbag has not deployed.  
#21 #D21 Reserve      
#22 #D22 Signal (-) switch for the hazard warning signal flasher. Ulow if button is held in, Ubat otherwise  
#23 #D23 Gear-shift position sensor Ulow Ulow / Ubat Ulow in positions P and N
#24 #D24 LIN bus communication During communication the voltage is 0V - Ubat  
#25 #D25 Seat position sensor, driver     (Only XC90 USA/CDN)
#26 #D26 Seat position sensor, passenger     (Only XC90 USA/CDN)
#27 #D27 Sensor, set belt reminder (+) Ulow / Ubat Ubat /Ubat  
#28 #D28 Sensor, seat belt reminder (-) U low /Ulow U low /Ulow  
#29 #D29 Twilight sensor U low /Ulow U=0.25-4.75V  
#30 #D30 Sun sensor U low /Ulow U=0.25-4.75V  
#31 #D31 Communication CAN_H high speed network The voltage is 2.0-3.5 V during communication  
#32 #D32 Communication CAN_H high speed network The voltage is 2.0-3.5 V during communication  
#33 #D33 Communication CAN_H high speed network The voltage is 2.0-3.5 V during communication OBD out
#34 #D34 Communication CAN_H low speed network The voltage is 2.0-3.5 V during communication  
#35 #D35 Communication CAN_H low speed network The voltage is 2.0-3.5 V during communication  
#36 #D36 Communication CAN_H low speed network The voltage is 2.0-3.5 V during communication  
#37 #D37 Communication CAN_H low speed network The voltage is 2.0-3.5 V during communication Via SRS
#38 #D38 Communication CAN_H low speed network The voltage is 2.0-3.5 V during communication Via UEM
#39 #D39 Communication CAN_H low speed network The voltage is 2.0-3.5 V during communication Via DDM
#40 #D40 Communication CAN_H low speed network The voltage is 2.0-3.5 V during communication OBD out
#41 #D41 Volcano Lite CAN H The voltage is 8.5-9.5 V during communication  
#42 #D42 The sun sensor, twilight sensor and alarm LED share a common ground U low /Ulow U low /Ulow  
#43 #D43 Fuel level sensor, left-hand side (+). Switched signal, 5/35 ms. U Ulow U=0.54-3.96 V Full: 0.54 V Empty: 3.96 V
#44 #D44 Fuel level sensor, right-hand side (+). Switched signal, 5/35 ms. U Ulow U=0.54-3.96 V Full: 0.54 V Empty: 3.96 V
#45 #D45 Fuel level sensor common ground U low /Ulow U low /Ulow  
#46 #D46 Communication CAN_L high speed network The voltage is 1.5-2.5 V during communication  
#47 #D47 Communication CAN_L high speed network The voltage is 1.5-2.5 V during communication  
#48 #D48 Communication CAN_L high speed network The voltage is 1.5-2.5 V during communication OBD
#49 #D49 Communication CAN L low speed network The voltage is 1.5-2.5 V during communication  
#50 #D50 Communication CAN L low speed network The voltage is 1.5-2.5 V during communication  
#51 #D51 Communication CAN L low speed network The voltage is 1.5-2.5 V during communication  
#52 #D52 Communication CAN L low speed network The voltage is 1.5-2.5 V during communication Via SRS
#53 #D53 Communication CAN L low speed network The voltage is 1.5-2.5 V during communication Via UEM
#54 #D54 Communication CAN L low speed network The voltage is 1.5-2.5 V during communication Via DDM
#55 #D55 Communication CAN L low speed network The voltage is 1.5-2.5 V during communication OBD out
#56 #D56 IMMO Data U low /Ulow The voltage is 0.5-2.5 V during communication Antenna ring/lighting ignition switch
#57 #D57 IMMO Clock U low /Ulow The voltage is 0.5-2.5 V during communication Antenna ring/lighting ignition switch
#58 #D58 LIN bus 2 During communication the voltage is 0V - U bat SWM/SAS
#59 #D59 Speed signal Ulow Ulow -Ubat Output signal
Frequency signal, increases with speed
#60 #D60 50-supply (Power supply from ignition switch) U bat (Key in position III); Ulow otherwise