LEMON Manuals: Even more car manuals for everyone
Home >> Volvo >> 2007 >> S60 Base, FWD >> Repair and Diagnosis >> Electrical >> Body Electrical >> Central Electronic Module (CEM), Rear Electronic Module (Rem), Upper Electronics Module (UEM) - Diagnostic Trouble Codes - 11 Of 13 >> Rem-6A01: Switch, Central Locking Motor. Signal Too High (2005-2009) >> Signal too high >> Checking >> Checking cable and component

Checking cable and component

NOTE:

Only fault-trace the circuit of the door displaying the faulty value.

Check the connectors for the lock mechanism and the rear electronic module (REM). Check for contact resistance and oxidation.

Check the ground lead/ground terminal for the lock mechanism. Check for an open-circuit.

Left rear door 

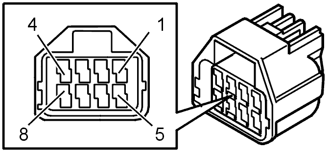
Check the control signal cable between rear electronic module (REM) connector terminal #23 (#A23) and terminal #4 on the lock mechanism connector. Check for an open-circuit. Check for a short-circuit to supply voltage. Check for a short-circuit to ground.

Check the control signal cable between rear electronic module (REM) connector terminal #27 (#A27) and terminal #8 on the lock mechanism connector. Check for a short-circuit to supply voltage. Check for an open-circuit. Check for a short-circuit to ground.

Check the wiring between the lock mechanism connector terminals #3 and #8 and the relay terminals #2 and #4 for the child lock. Check for an open-circuit. Check for a short-circuit to ground. Check for a short-circuit to supply voltage.

Check the wiring between the lock mechanism connector terminals #3 and #5 and the power window switch. Check for an open-circuit. Check for a short-circuit to ground. Check for a short-circuit to supply voltage.

HINT: Remove the relay for the child locks while checking the lock motors. If the function is OK when the relay is removed it means that there is a fault in the relay or in the circuit for controlling the relay. 

Right rear door 

Check the control signal cable between rear electronic module (REM) connector terminal #26 (#B26) and terminal #4 on the lock mechanism connector. Check for an open-circuit. Check for a short-circuit to supply voltage. Check for a short-circuit to ground. The circuit runs via the lock motor for the fuel tank filler cap.

Check the control signal cable between rear electronic module (REM) connector terminal #24 (#B24) and terminal #8 on the lock mechanism connector. Check for an open-circuit. Check for a short-circuit to supply voltage. Check for a short-circuit to ground.

Check the wiring between the lock mechanism connector terminals #3 and #8 and the relay terminals #2 and #4 for the child lock. Check for an open-circuit. Check for a short-circuit to ground. Check for a short-circuit to supply voltage.

Check the wiring between the lock mechanism connector terminals #3 and #5 and the power window switch. Check for an open-circuit. Check for a short-circuit to ground. Check for a short-circuit to supply voltage.

HINT: Remove the relay for the child locks while checking the lock motors. If the function is OK when the relay is removed it means that there is a fault in the relay or in the circuit for controlling the relay. 

Remedy as necessary.

Other information 

Fig 1: Identifying Connector Terminals
GLL104147Courtesy of VOLVO CARS OF NORTH AMERICA.
Fig 2: Identifying VCT2000 Diagnostic Tool Symbol In VIDA
GLL100563Courtesy of VOLVO CARS OF NORTH AMERICA.
Fig 3: Identifying Central Locking Motor
GLL147303Courtesy of VOLVO CARS OF NORTH AMERICA.