LEMON Manuals: Even more car manuals for everyone
Home >> Volvo >> 2007 >> S60 Base, AWD >> Repair and Diagnosis (Single Page) >> Electrical >> Wiring Diagrams >> OEM Connector End Views >> Connector End Views >> Inclination Sensor Module (ISM) Connector End View (7/100)

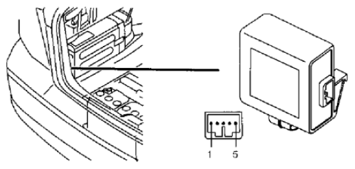
Inclination Sensor Module (ISM) Connector End View (7/100)

Fig 1: Inclination Sensor Module (ISM) Connector End View (7/100)
G10807321Courtesy of VOLVO CARS CORPORATION