LEMON Manuals: Even more car manuals for everyone
Home >> Volvo >> 2006 >> V70 Base, 2.4 64 >> Repair and Diagnosis >> Steering >> Steering Control Systems >> Bulbs, Control Modules, Charging - Design And Function >> Rear Electronic Module (Rem) (2001-2004) >> Function >> Fuel level (Bi-fuel)

Fuel level (Bi-fuel)

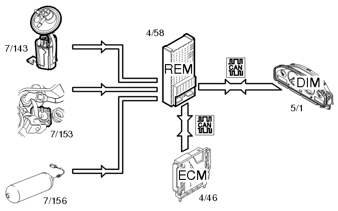
Fig 1: Identifying Fuel Level Input And Output Signals (Bi-Fuel)
GLL106073Courtesy of VOLVO CARS OF NORTH AMERICA.

The fuel level in the gasoline tank is measured by the fuel level sensor (7/143). The level in the gas tank is measured by the fuel level sensor (7/156) (CNG) or (7/153) (LPG). The signals from the sensors are transmitted to the rear electronic module (REM) (4/58).

The rear electronic module (REM) calculates the quantity of fuel remaining in each tank and transmits this information via the Control area network (CAN) to the driver information module (DIM) (5/1). The driver information module (DIM) also receives data via the Control area network (CAN) from the engine control module (ECM) (4/46) indicating which type of fuel the car is running on. The gas level in the tank is displayed via the fuel gauge. The gasoline fuel level is displayed in the text window in the driver information module (DIM).