LEMON Manuals: Even more car manuals for everyone
Home >> Volvo >> 2006 >> V70 Base, 2.4 64 >> Repair and Diagnosis >> Steering >> Steering Control Systems >> Bulbs, Control Modules, Charging - Design And Function >> Climate Control Module (CCM) (2005-2007) >> Function >> Heated rear windshield and door mirrors

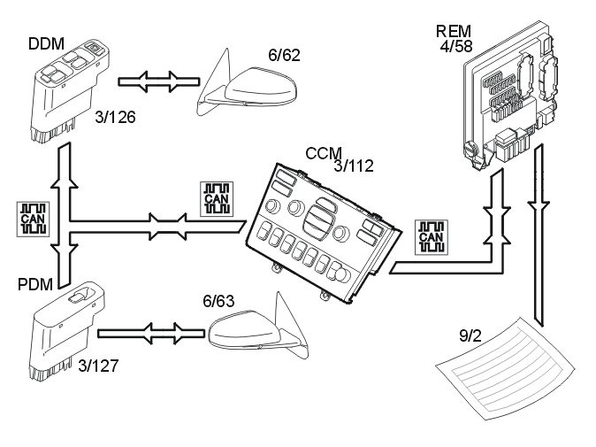
Heated rear windshield and door mirrors

Fig 1: Identifying Heated Rear Windshield & Door Mirror System Components
GLL146625Courtesy of VOLVO CARS OF NORTH AMERICA.

The heated rear windshield and door mirrors are activated by pressing the switch on the climate control module (CCM) (3/112). The climate control module (CCM) transmits information via the controller area network (CAN) indicating the status of the electrical heating to the following:

For further information, see VIDA Design and Function, driver door module (DDM)/passenger door module (PDM) and Design and Function, rear electronic module (REM).