LEMON Manuals: Even more car manuals for everyone
Home >> Volvo >> 2006 >> S80 AWD >> Repair and Diagnosis (Single Page) >> Quick Lookups >> Wiring Diagrams >> OEM Connector End Views >> Connector End Views >> Inclination Sensor Module (ISM) Connector End View (7/100)

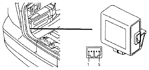
Inclination Sensor Module (ISM) Connector End View (7/100)

Fig 1: Inclination Sensor Module (ISM) Connector End View (7/100)
G10806899Courtesy of VOLVO CARS CORPORATION