LEMON Manuals: Even more car manuals for everyone
Home >> Volvo >> 2004 >> XC90 Base, AWD >> Repair and Diagnosis >> Engine Performance >> System >> Engine Control Module (ECM) Diagnostic Trouble Codes - 7 Of 13 >> ECM-9290: Engine Control Module (ECM). Faulty Signal (B5254T2; 2005-2007) >> Faulty Signal >> Fault-Tracing Information >> Checking Components And Wiring

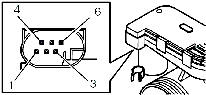
Checking Components And Wiring

Fig 1: Identifying Ignition OFF
GLL101045Courtesy of VOLVO CARS CORPORATION