LEMON Manuals: Even more car manuals for everyone
Home >> Volvo >> 2004 >> XC70 >> Repair and Diagnosis (Single Page) >> Electrical >> Wiring Diagrams >> OEM Connector End Views >> Connector End Views >> Control Module Front Right Door PDM/DDM, V70 Connector End View (3/127)

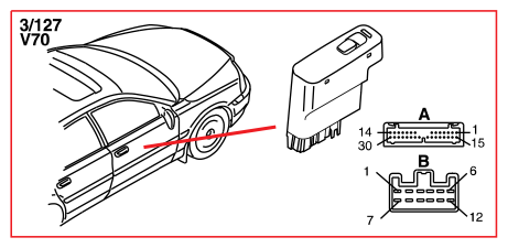
Control Module Front Right Door PDM/DDM, V70 Connector End View (3/127)

Fig 1: Control Module Front Right Door PDM/DDM, V70 Connector End View (3/127)
G10908889Courtesy of VOLVO CARS CORPORATION