Checking the cable and components
- Ignition off.
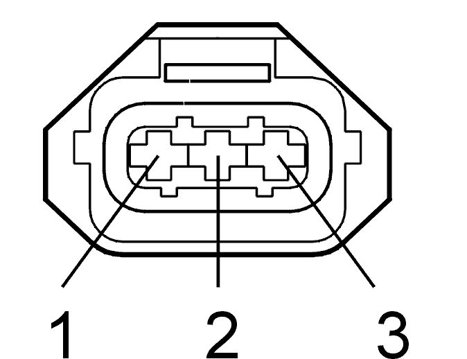
Check the signal cable between boost pressure sensor terminal 3 and control module terminal 13. Check the power supply cable between boost pressure sensor terminal 1 and control module terminal 74. Check these cables for an open-circuit according to Open-circuit, permanent faults .
Check boost pressure sensor terminal 3 for a short-circuit to ground according to Short-circuit to ground, permanent faults .
HINT: The boost pressure sensor receives 5 V from control module terminal 74.
If no fault is found during the above fault-tracing, try a new boost pressure sensor according to Replacing the atmospheric pressure sensor if necessary.
Other information:
- To connect the breakout box, see Connecting the breakout box. EMS 2000
- For information about signals, see Signal specification .
Courtesy of VOLVO CARS OF NORTH AMERICA.
- Continue
Refer to Verification