LEMON Manuals: Even more car manuals for everyone
Home >> Volvo >> 2004 >> V40 Base >> Repair and Diagnosis >> Engine Performance >> System >> Design And Function - Miscellaneous Systems >> Engine Management System Ems 2000 (B4204T2 CVVT; 2000) >> Control of idle air

Control of idle air

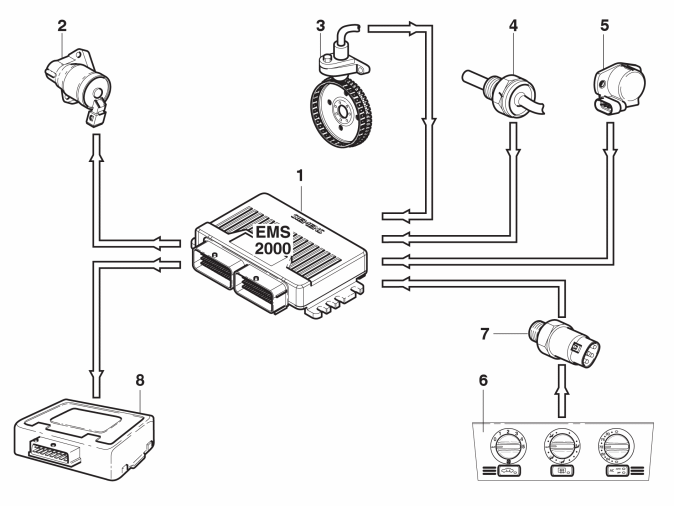
Fig 1: Identifying Engine Management System
GLL168116Courtesy of VOLVO CARS OF NORTH AMERICA.
1 Engine control module (ECM) 5 Throttle position sensor (TPS)
2 Valve for idle RPM 6 ECC control panel
3 Engine speed (RPM) sensor 7 A/C pressure sensor
4 Engine coolant temperature (ECT) sensor 8 Transmission control module (TCM)

Function 

Valve defective 

If there should be a problem with a valve, the EVAP-valve opens to let in air to the engine through the canister.