Checking The Component And Wiring
WARNING: This page is about a different variant/trim than selected.
- Ignition off
- Disconnect the connector for the microphone in the rear view mirror
- Disconnect the 16-pin connector for the audio module (AUD).
Check the cable terminals in the female and male sections of the connector. The cable terminals must not be damaged or pressed back.
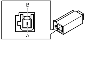
Check the signal cable between audio module (AUD) terminal #B8 and microphone input terminal #A2 (pin B). Check for a short-circuit to ground.
Check the signal cable between audio module (AUD) terminal #B16 and microphone input terminal #A1 (pin A). Check for a short-circuit to ground.
Check the resistance between terminal #A1 (pin A) and #A2 (pin B) in the microphone connector. The resistance should be between 100 Ω - 10 kΩ.
Remedy as necessary.
Other information
- Continue
Refer to VERIFICATION