LEMON Manuals: Even more car manuals for everyone
Home >> Volvo >> 2004 >> S40 LSE >> Repair and Diagnosis >> External Pages >> Different variant/trim >> Section 16 (Media, Communication And Navigation - Specifications, Electrical/Electronic (544 Body)) >> Signal Specification, Media Player Module (MPM) (2004-2005) >> Signal Specification

Signal Specification

WARNING: This page is about a different variant/trim than selected.

General 

All the values given below are between the respective terminal in column 1 and terminal #A2 in column 2 (power ground) unless otherwise stated in brackets after the table entry.

NOTE:

It is important to check ground terminals before taking readings.

U= DC voltage in volts (V) Ulow = Voltage approximately 0 V
Ubat = Battery voltage (V)    
Fig 1: Identifying Connector A
GLL101930Courtesy of VOLVO CARS OF NORTH AMERICA.
CONNECTOR A

Terminal  Breakout box terminal  Signal type  Ignition on  Other 
#A1   30 supply U = Ubat  
#A2   15 supply U = Ubat Relay voltage
#A3        
#A4   Ground U=Ulow  
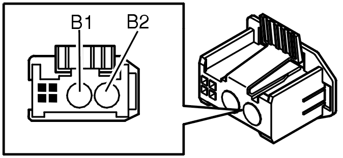
Fig 2: Identifying Connector B
GLL101929Courtesy of VOLVO CARS OF NORTH AMERICA.
CONNECTOR B

Terminal  Breakout box terminal  Signal type  Ignition on  Other 
#B1   MOST input signal Optical input signal when the MOST network is activated  
#B2   MOST output signal Optical output signal when the MOST network is activated