Checking The Component And Wiring
- Ignition off
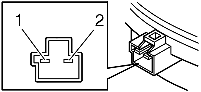
- Unplug the connector for the loudspeaker in the left door.
Check the cable terminals. Check for contact resistance, loose connections and oxidation.
NOTE:Only visually check the treble loudspeaker. Check for oxidation and loose connections. Do not carry out any electrical fault-tracing on the treble loudspeaker.
Check the cable terminals in the female and male sections of the connector. The cable terminals must not be damaged or pressed back.
Check the signal cable between the Audio module (AUD) #B1 and the loudspeaker #2 in the left door. Check for an open circuit.
Check the signal cable between the Audio module (AUD) #B9 and the loudspeaker #1 in the left-hand door. Check for an open circuit.
HINT: Check the connector between Audio module (AUD) and the loudspeaker in the left door for contact resistance, loose connection and oxidation.
Check the loudspeaker connector terminals #1 and 2 in the left-hand door. Check for an open-circuit.
Remedy as necessary.
Other information
- Continue
Refer to VERIFICATION