LEMON Manuals: Even more car manuals for everyone
Home >> Volvo >> 2003 >> V70 Base, 2.5 59 >> Repair and Diagnosis >> Engine Performance >> Engine Control Systems >> Alarm System, Control Modules, Engine Management Systems - Design And Function >> Climate Control Module (2001-2004) >> Function >> Heated rear windshield and door mirrors

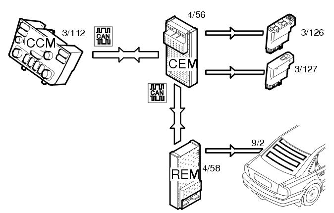
Heated rear windshield and door mirrors

Fig 1: Heated Rear Windshield And Door Mirrors Input And Output Signals
GLL107519Courtesy of VOLVO CARS OF NORTH AMERICA.

The heated rear windshield and door mirrors are activated by pressing the switch on the climate control module (CCM) (3/112). The climate control module (CCM) transmits information to the central electronic module (CEM) (4/56) about the selected heating status. The central electronic module (CEM) transmits a signal to the driver's door module (3/126) and passenger door module (PDM) (3/127) for the heated door mirrors and to the rear electronic module (REM) (4/58) for the heated rear windshield.

The central electronic module (CEM) also transmits information to the climate control module (CCM) about whether the seat heaters are activated or not. The climate control module (CCM) uses this information to light / turn off the LED on the button.