Checking components and wiring: Notes
CAUTION:
Do not apply rust solvent spray or grease to the heated oxygen sensor (HO2S) connector.
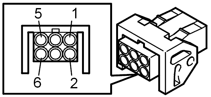
Check the signal cable (+) between heated oxygen sensor (HO2S) terminal #1 and control module terminal #A41 (#A41). Check the signal cable (-) between heated oxygen sensor (HO2S) terminal #5 and control module terminal #A42 (#A42). Check for a short-circuit to each other.
Check the power supply to heated oxygen sensor (HO2S) terminal #3 and the signal cable between heated oxygen sensor (HO2S) terminal #4 and control module terminal #A18 (#A18). Check for a short-circuit to the other cables for the heated oxygen sensor (HO2S).
Try a new heated oxygen sensor (HO2S) if the wiring is OK.
Remedy as necessary.
Other information
- To connect the breakout box / access the control module, see Connecting the breakout box
- To access or replace the heated oxygen sensor (HO2S) for the C70, S70, V70 -2000 and V70XC, see Adapter wiring switch, replacing . For other models, see Heated oxygen sensor (HO2S), replacing
- For information about signals on 5 cylinder engines, see Signal specification
- For information about signals on 6 cylinder engines:
- For 6 cylinder engines -2001, see Signal specification
- For 6 cylinder engines 2002-, see Signal specification
- For 6 cylinder engines -2004, see Signal specification
- For 6 cylinder engines 2005-, see Signal specification .
- See Contents .
- Continue
Refer to Verification