LEMON Manuals: Even more car manuals for everyone
Home >> Volvo >> 2002 >> S80 Base >> Repair and Diagnosis (Single Page) >> Quick Lookups >> Wiring Diagrams >> OEM Connector End Views >> Connector End Views >> Control Module FR Door PDM/DDM Connector End View (3/127)

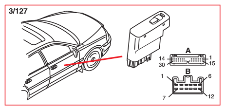
Control Module FR Door PDM/DDM Connector End View (3/127)

Fig 1: Control Module FR Door PDM/DDM Connector End View (3/127)
G10803639Courtesy of VOLVO CARS CORPORATION