LEMON Manuals: Even more car manuals for everyone
Home >> Volvo >> 2001 >> S80 Base >> Repair and Diagnosis (Single Page) >> Accessories & Equipment >> Entertainment Systems >> Media, Communication And Navigation - Specifications, Electrical/Electronic >> Signal Specification (1999-2006) >> Signal specification, audio control module >> Audio control module signals >> Audio control module (cable between audio module and CD changer/navigation unit)

Audio control module (cable between audio module and CD changer/navigation unit)

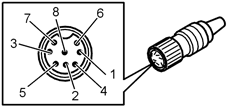
Fig 1: Identifying Terminals Of Cable Between Audio Module And CD Changer/Navigation Unit
GLL104160Courtesy of VOLVO CARS OF NORTH AMERICA.

Before taking any readings, see Checking the ground terminals .

Control module terminal Breakout box terminal Signal type Ignition on
E1 #16 Clock signal to audio unit Digital signal
E2 #17 Signal ground, sound Ulow
E3 #18 15 supply Ubat
E4 #19 Data signal to audio unit Digital signal
E5 #20 Busy signal to audio unit Digital signal
E6 #21 Left audio channel Alternating current when there is sound to the loudspeaker
E7 #22 Right audio channel Alternating current when there is sound to the loudspeaker
E8 #23 Voice guide channel Alternating current when there is sound to the loudspeaker
H   Screen ground, cable to audio unit Ulow