LEMON Manuals: Even more car manuals for everyone
Home >> Volvo >> 1992 >> 940 GL, AW70L >> Repair and Diagnosis >> Engine Performance >> System >> Engine Controls - System/Component Tests >> Computerized Engine Controls >> Electronic Control Unit - Ignition (240, 740 & 940) >> Ground Circuit Checks

Ground Circuit Checks

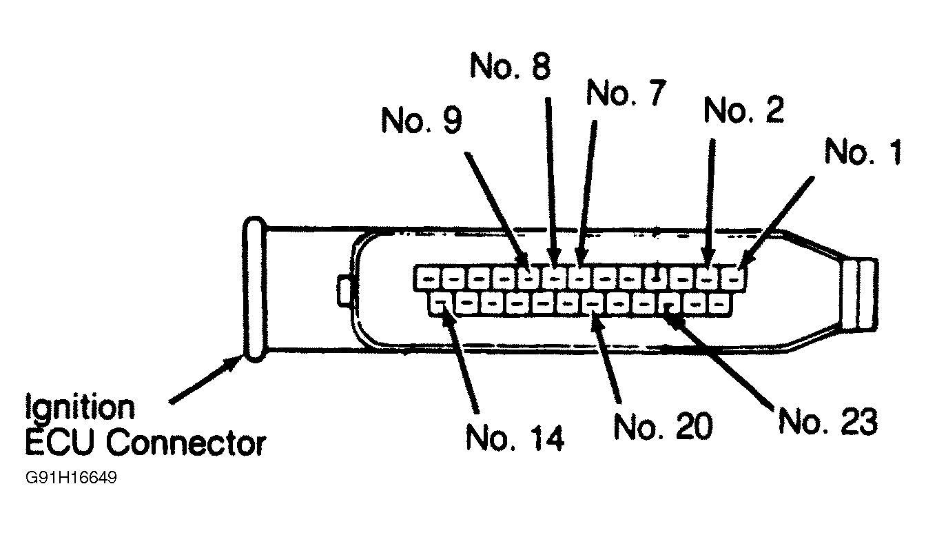
Turn ignition switch to OFF position. Connect ohmmeter between ignition control unit terminals No. 20 and 14, and ground. See Fig 1 . Resistance should be zero ohms.

Fig 1: Electronic Ctrl Unit Terminal ID (240, 740 & 940 - Ignition)
G91H16649Courtesy of VOLVO CARS OF NORTH AMERICA.