LEMON Manuals: Even more car manuals for everyone
Home >> Volvo >> 1987 >> 780 AW71L >> Repair and Diagnosis >> Engine Performance >> System >> BOSCH LH-JETRONIC - Engine Control System >> Diagnosis & Testing >> Circuit Checks >> Notes

Circuit Checks: Notes

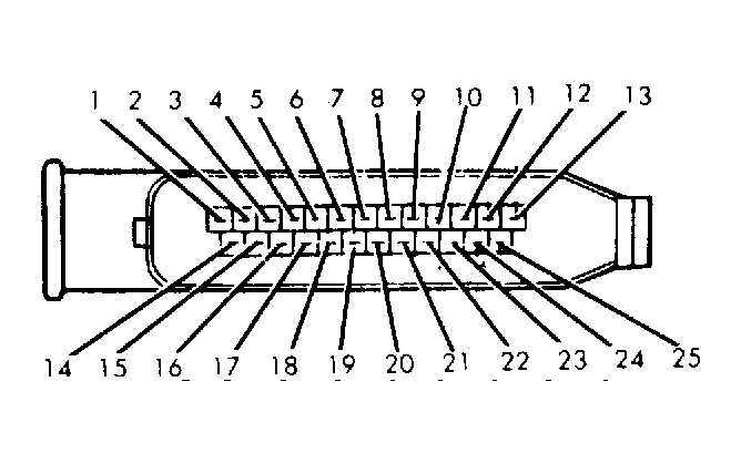
NOTE: Unless otherwise mentioned, the connector referenced in following checks is the control unit (ignition ECU) connector. See Figure .