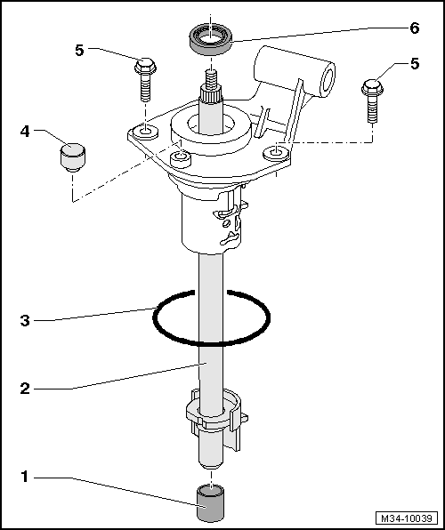
Overview - Shift Unit
- Bearing Bushing
- For the selector shaft
- Removing and installing. Refer to OVERVIEW - TRANSMISSION HOUSING .
- Gearshift Unit
- Consisting of the gearshift shaft and the gearshift cover.
- The components cannot be separated from each other.
- Can be removed and installed with the transmission installed. Refer to OVERVIEW - TRANSMISSION HOUSING AND SELECTOR MECHANISM .
- O-ring
- Replace after removing
- Insert in the groove in the shift cover
- Install with transmission fluid
- Cap
- For the transmission ventilation
- Bolt
- Tightening specification. Refer to OVERVIEW - TRANSMISSION HOUSING AND SELECTOR MECHANISM .
- Replace after removing
- For the shift unit to the transmission housing
- Gearshift Shaft Seal
- Replace after removing. Refer to SELECTOR SHAFT SEAL, REPLACING .