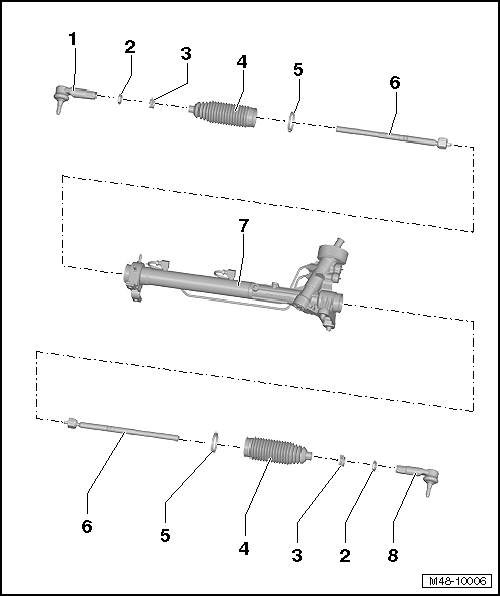
Steering Gear, Hydraulic Steering Gear, Servicing: Notes
- Right Tie Rod End
- Identified with "A". Refer to Installing - Make Sure The Correct Tie Rod End Is Installed On Each Side .
- Removing and installing. Refer to TIE ROD END, REMOVING AND INSTALLING .
- Checking. Refer to Checking Play, Fastening and Joint Boots of Tie Rod Ends
- Installed position. Refer to Installing - Make Sure The Correct Tie Rod End Is Installed On Each Side .
- Nut
- 70 Nm
- Clamp
- Boot
- Must not be twisted after toe is adjusted
- To replace, remove steering gear
- Clamp
- Always replace
- Tensioning. Refer to Installing - Tighten The New Clamp Using The :VAS6199 To The Extent Depicted In The Illustration .
- Right Tie Rod
- 100 Nm
- Removing and installing. Refer to HYDRAULIC STEERING GEAR TIE ROD, REMOVING AND INSTALLING .
- Is preset when supplied as replacement part
- Power Steering Gear
- For the allocation refer to the parts information.
- Removing and installing. Refer to STEERING GEAR, HYDRAULIC STEERING GEAR, REMOVING AND INSTALLING .
- Left Tie Rod End
- Identified with "B". Refer to Installing - Make Sure The Correct Tie Rod End Is Installed On Each Side .
- Removing and installing. Refer to TIE ROD END, REMOVING AND INSTALLING .
- Checking. Refer to Checking Play, Fastening and Joint Boots of Tie Rod Ends
- Installed position. Refer to Installing - Make Sure The Correct Tie Rod End Is Installed On Each Side .