LEMON Manuals: Even more car manuals for everyone
Home >> Volkswagen >> 2004 >> GTI Base, Standard >> Repair and Diagnosis >> External Pages >> Different variant/trim >> Section 1 (2.8L & 3.2L - Generic Scan Tool, Engine Code(S): AFP, BDF, BJS [A4 Platform] (28 Ignition/Glow Plug System - St Generic Scan Tool)) >> 28 Ignition/Glow plug system >> Ignition, servicing >> Knock sensors, checking >> Checking resistances and wires (vehicles with engine code AFP) >> Notes

Checking resistances and wires (vehicles with engine code AFP): Notes

WARNING: This page is about a different variant/trim than selected.

Knock Sensor (KS) 1 -G61-

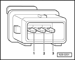
Fig 1: 3-Pin Harness Connector For Knock Sensor 1 (Vehicles With Engine Code AFP)
GW00001241Courtesy of VOLKSWAGEN UNITED STATES, INC.

Knock Sensor (KS) 2 -G66-

Fig 2: 3-Pin Harness Connector For Knock Sensor 2 (Vehicles With Engine Code AFP)
GW00001242Courtesy of VOLKSWAGEN UNITED STATES, INC.
Fig 3: Knock Sensor Connector Terminals
GW00001287Courtesy of VOLKSWAGEN UNITED STATES, INC.

Specified value: ∞ Ω