LEMON Manuals: Even more car manuals for everyone
Home >> Volkswagen >> 2004 >> GTI Base, Standard >> Repair and Diagnosis >> External Pages >> Different variant/trim >> Section 1 (2.8L & 3.2L - Generic Scan Tool, Engine Code(S): AFP, BDF, BJS [A4 Platform] (28 Ignition/Glow Plug System - St Generic Scan Tool)) >> 28 Ignition/Glow plug system >> Ignition, servicing >> Camshaft Position (CMP) sensor, checking >> Test sequence (vehicles with engine code AFP) >> Notes

Test sequence (vehicles with engine code AFP): Notes

WARNING: This page is about a different variant/trim than selected.
Fig 1: Three-Wire Hall Camshaft Position Sensor G40 - Disconnect
GW00000825Courtesy of VOLKSWAGEN UNITED STATES, INC.

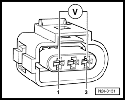
Checking voltage supply 

Fig 2: Measuring Voltage Between Terminal 1 And 3 Of Camshaft Position Sensor Connector
GW00001237Courtesy of VOLKSWAGEN UNITED STATES, INC.

Specified value: at least 4.5 V

If there is no voltage: