Checking wires to Transmission Control Module (TCM)
- Connect test box to Transmission Control Module (TCM) wiring harness. Refer to Test box, connecting for wiring test
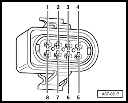
Vehicles with 01M transmission
- Check wires between test box and 8-pin connector to Transmission Control Module (TCM) for open circuit according to wiring diagram.
Terminal 1+socket 63
Terminal 2+socket 40
Terminal 3 + socket 1
Terminal 5 + socket 18
Terminal 6 + socket 62
Terminal 7 + socket 23
Wire resistance: max. 1.5 Ω
Vehicles with 09A transmission
- Check wires between test box and 8-pin connector to Transmission Control Module (TCM) for open circuit according to wiring diagram.
Terminal 2+socket 40
Terminal 3 + socket 45
Terminal 3 + socket 68
Terminal 4 + socket 41
Terminal 5 + socket 18
Terminal 6 + socket 1
Terminal 6 + socket 24
Terminal 7 + socket 19
Wire resistance: max. 1.5 Ω
Continuation for all vehicles
- Also check wires for short circuit to each other.
Specified value: ∞ Ω
If no malfunctions are found in wires:
Vehicles with 01M transmission
- Check adjustment of selector lever cable:
Refer to 37 AUTOMATIC TRANSMISSION - CONTROLS, HOUSING
Vehicles with 09A transmission
- Check adjustment of selector lever cable:
Refer to 37 - AUTOMATIC TRANSMISSION - CONTROLS, HOUSING
Continuation for all vehicles
- Erase DTC memory of Transmission Control Module (TCM). Refer to Diagnostic mode 4: Reset/erase diagnostic data
- Generate readiness code. Refer to Readiness code, generating
If no malfunctions are detected in the wires and the selector lever cable adjustment is OK:
- Replace Multi-Function Transmission Range (TR) Switch -F125-. Refer to Multi-Function Transmission Range (TR) Switch, replacing .
- Erase DTC memory of Transmission Control Module (TCM). Refer to Diagnostic mode 4: Reset/erase diagnostic data
- Generate readiness code. Refer to Readiness code, generating