LEMON Manuals: Even more car manuals for everyone
Home >> Toyota >> 2021 >> RAV4 Adventure >> Repair and Diagnosis >> External Pages >> Different variant/trim >> Section 2 (Smart Key System (For Entry, HV) - Diagnostics - Introduction) >> SMART KEY SYSTEM (for Entry Function, HV Model) >> System Diagram [02/2019 - 10/2023] >> System Diagram [02/2019 - 10/2023]

System Diagram [02/2019 - 10/2023]

WARNING: This page is about a different variant/trim than selected.
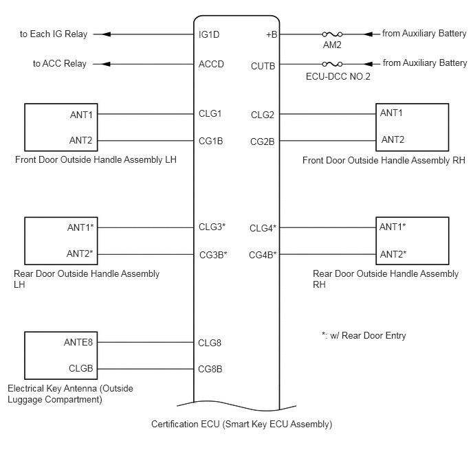
  1. SMART KEY SYSTEM (for Entry Function) 
    GTY913173Courtesy of © TOYOTA, LICENSE AGREEMENT TMS1002
    GTY885412Courtesy of © TOYOTA, LICENSE AGREEMENT TMS1002
  2. SMART KEY SYSTEM (for Start Function) 

    Refer to SYSTEM DIAGRAM [11/2018 - 12/2021] , or refer to SYSTEM DIAGRAM [12/2021 - 10/2022] , or refer to SYSTEM DIAGRAM [10/2022 - ]

  3. POWER DOOR LOCK CONTROL SYSTEM 

    Refer to SYSTEM DIAGRAM [11/2018 - 08/2020] , or refer to SYSTEM DIAGRAM [08/2020 - ]

  4. WIRELESS DOOR LOCK CONTROL SYSTEM 

    Refer to SYSTEM DIAGRAM [11/2018 - ]

  5. POWER BACK DOOR SYSTEM (w/ Power Back Door System) 

    Refer to SYSTEM DIAGRAM [11/2018 - 10/2023]