LEMON Manuals: Even more car manuals for everyone
Home >> Toyota >> 2019 >> RAV4 LE, AWD >> Repair and Diagnosis >> External Pages >> Different variant/trim >> Section 133 (Engine Control System (A25A-FXS) (W/ Canister Pump Module) - Diagnostic Codes (03 Of 13)) >> SFI SYSTEM (w/ Canister Pump Module) >> DTC P0120-11: Throttle / Pedal Position Sensor / Switch "A" Circuit Short to Ground [02/2019 - 06/2020] >> Description

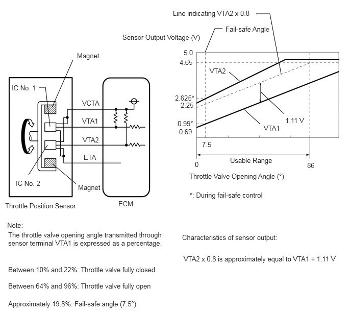
DTC P0120-11: Throttle / Pedal Position Sensor / Switch "A" Circuit Short to Ground [02/2019 - 06/2020]: Description

WARNING: This page is about a different variant/trim than selected.

The throttle position sensor is built into the throttle body with motor assembly and detects the opening angle of the throttle valve. This sensor is a non-contact type sensor. It uses Hall-effect elements in order to yield accurate signals even in extreme driving conditions, such as at high speeds as well as very low speeds.

The throttle position sensor is built into the throttle body assembly and detects the opening angle of the throttle valve. This sensor is a non-contact type sensor. It uses Hall-effect elements in order to yield accurate signals even in extreme driving conditions, such as at high speeds as well as very low speeds.

As the valve closes, the sensor output voltage decreases and as the valve opens, the sensor output voltage increases. The ECM calculates the throttle valve opening angle according to these signals and controls the throttle actuator in response to a request from the hybrid system. These signals are also used in calculations such as air fuel ratio correction, power increase correction and fuel-cut control.

GTY744311Courtesy of © TOYOTA, LICENSE AGREEMENT TMS1002

HINT: 

DTC No. Detection Item DTC Detection Condition Trouble Area MIL Memory Note
P0120-11 Throttle / Pedal Position Sensor / Switch "A" Circuit Short to Ground The output voltage of VTA1 is less than 0.56 V for 2 seconds or more (1 trip detection logic).
  • Throttle position sensor (throttle body with motor assembly)
  • Short in VTA1 circuit
  • Open in VCTA circuit
  • ECM
Comes on DTC stored SAE Code: P0122