LEMON Manuals: Even more car manuals for everyone
Home >> Toyota >> 2017 >> RAV4 SE, AWD >> Repair and Diagnosis >> Transmission >> Transfer Case >> Dynamic Torque Control AWD System - Diagnostics - Introduction >> Dynamic Torque Control AWD System >> System Diagram [10/2015 - 08/2016] >> System Diagram [10/2015 - 08/2016]

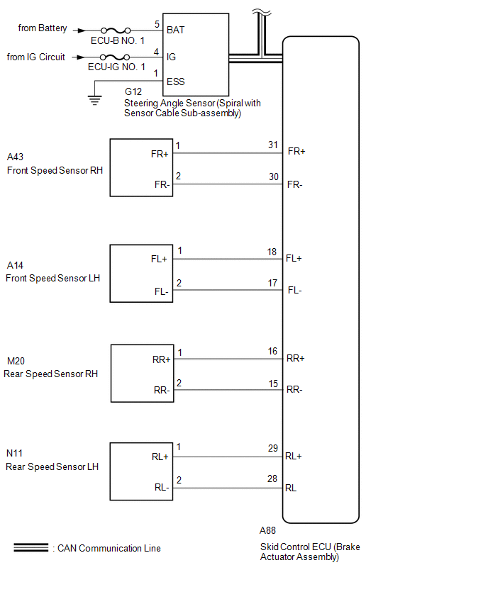
System Diagram [10/2015 - 08/2016]

Fig 1: Dynamic Torque Control AWD System Diagram (1 Of 2)
GTY590758Courtesy of © TOYOTA, LICENSE AGREEMENT TMS1002
Fig 2: Dynamic Torque Control AWD System Diagram (2 Of 2)
GTY584689Courtesy of © TOYOTA, LICENSE AGREEMENT TMS1002
COMMUNICATION TABLE

Transmitting ECU Receiving ECU Signal Communication Method
Skid control ECU (Brake actuator assembly) 4WD ECU assembly
  • Wheel speed sensor signal
  • Stop light switch signal
CAN communication system
ECM 4WD ECU assembly
  • Shift position sensor signal
  • Throttle position sensor signal
  • Crankshaft position sensor signal
CAN communication system
Main body ECU (Multiplex network body ECU) 4WD ECU assembly
  • Parking brake switch signal
  • Ambient temperature signal
CAN communication system
4WD ECU assembly Combination meter assembly
  • AWD warning light signal
  • AWD lock mode indicator light signal
  • Sport mode indicator light signal
CAN communication system
Steering angle sensor (Spiral with sensor cable sub-assembly) 4WD ECU assembly Steering angle sensor signal CAN communication system
Acceleration sensor (Airbag sensor assembly) 4WD ECU assembly Acceleration sensor signal CAN communication system