LEMON Manuals: Even more car manuals for everyone
Home >> Toyota >> 2015 >> Prius Two >> Repair and Diagnosis >> External Pages >> Different variant/trim >> Section 72 (Plug-In Charge Control System - Diagnostic Codes & Circuit Tests (Plug-In)) >> Plug-In Charge Control System >> DTC U0293-449: Lost Communication with Hybrid Powertrain Control Module [08/2014 - ] >> Procedure

DTC U0293-449: Lost Communication with Hybrid Powertrain Control Module [08/2014 - ]: Procedure

WARNING: This page is about a different variant/trim than selected.
  1. CHECK DTC OUTPUT (HEALTH CHECK) 
    1. Connect the Techstream to the DLC3.
    2. Turn the power switch on (IG).
    3. Enter the following menus: System Select / Health Check.
    4. Check if DTCs are output.

      Result

      Result Proceed to
      Only U0293-449 is output. A
      Only U0293-439 and U0293-449 are also output. B
      U0293-449 and any CAN communication system DTC other than U0293-439 are output. C
    5. Turn the power switch off.

    B → See step   7 

    C → See step   8 

    A: Go to next step 

  2. CHECK HARNESS AND CONNECTOR (POWER MANAGEMENT CONTROL ECU - PLUGIN CHARGE CONTROL ECU ASSEMBLY) See step   2 

    NG → See step   5 

    OK: Go to next step 

  3. CHECK POWER MANAGEMENT CONTROL ECU (PIBM VOLTAGE) 
    1. Measure the voltage according to the value(s) in the table below.
      GTY331112Courtesy of © TOYOTA, LICENSE AGREEMENT TMS1002

      Standard Voltage

      Tester Connection Switch Condition Specified Condition
      L135-10 (PIBM) - Body ground Power switch off 11 to 14 V
      TEXT IN ILLUSTRATION

      *a Component with harness connected
      (Power Management Control ECU)

    NG → See step   6 

    OK: Go to next step 

  4. CHECK HARNESS AND CONNECTOR (POWER MANAGEMENT CONTROL ECU - BODY GROUND). Refer to  PROCEDURE - Step 2 

    NG → REPAIR OR REPLACE HARNESS OR CONNECTOR 

    OK → See step   9 

  5. CHECK HARNESS AND CONNECTOR (POWER MANAGEMENT CONTROL ECU - PLUGIN CHARGE CONTROL ECU ASSEMBLY) See step   6 

    NG → REPAIR OR REPLACE HARNESS OR CONNECTOR 

    OK → See step   10 

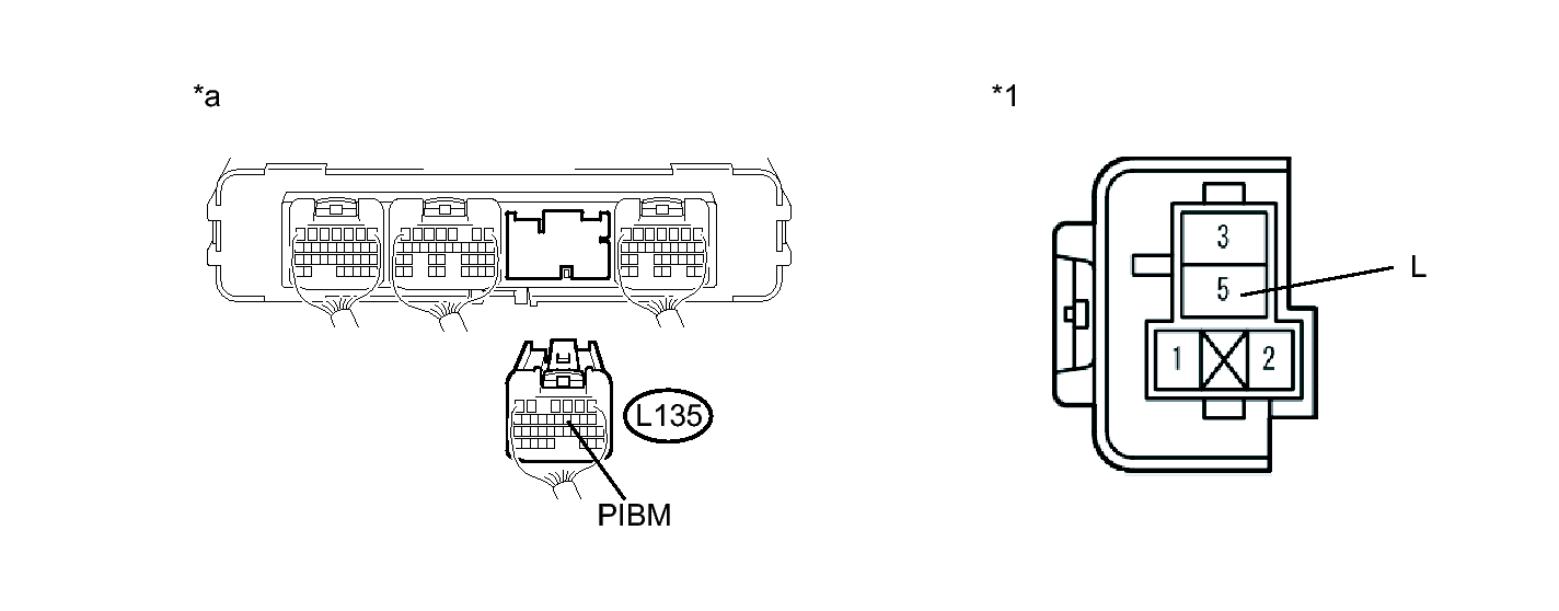
  6. CHECK HARNESS AND CONNECTOR (POWER MANAGEMENT CONTROL ECU - PIMR RELAY) 
    1. Disconnect connector L135 from the power management control ECU.
    2. Remove the PIMR relay from the relay block assembly.
    3. Measure the resistance according to the value(s) in the table below.
      GTY331521Courtesy of © TOYOTA, LICENSE AGREEMENT TMS1002
      TEXT IN ILLUSTRATION

      *1 Relay Block Assembly (PIMR Relay) - -
      *a Rear view of wire harness connector
      (to Power Management Control ECU)
      - -

      Standard Resistance (Check for Open)

      Tester Connection Switch Condition Specified Condition
      L135-10 (PIBM) - 5 (L) Power switch off Below 1 Ω

      Standard Resistance (Check for Short)

      Tester Connection Switch Condition Specified Condition
      L135-10 (PIBM) or 5 (L) - Body ground and other terminals Power switch off 10 kΩ or higher
    4. Install the PIMR relay.
    5. Connect the power management control ECU connector.

    NG → REPAIR OR REPLACE HARNESS OR CONNECTOR 

    OK → See step   9 

  7. GO TO DTC CHART (U0293-439). Refer to  DTC U0293-439: Lost Communication with Hybrid Powertrain Control Module [08/2014 - ]  
  8. GO TO CAN COMMUNICATION SYSTEM. Refer to  HOW TO PROCEED WITH TROUBLESHOOTING [08/2014 - ] 
  9. REPLACE POWER MANAGEMENT CONTROL ECU. Refer to  COMPONENTS [08/2014 - ] 
  10. REPLACE PLUGIN CHARGE CONTROL ECU ASSEMBLY. Refer to  COMPONENTS [08/2014 - ]