LEMON Manuals: Even more car manuals for everyone
Home >> Toyota >> 2015 >> Prius Two >> Repair and Diagnosis >> External Pages >> Different variant/trim >> Section 72 (Plug-In Charge Control System - Diagnostic Codes & Circuit Tests (Plug-In)) >> Plug-In Charge Control System >> DTC P0D5C-847: Charging Power Malfunction [08/2014 - ] >> Description

DTC P0D5C-847: Charging Power Malfunction [08/2014 - ]: Description

WARNING: This page is about a different variant/trim than selected.

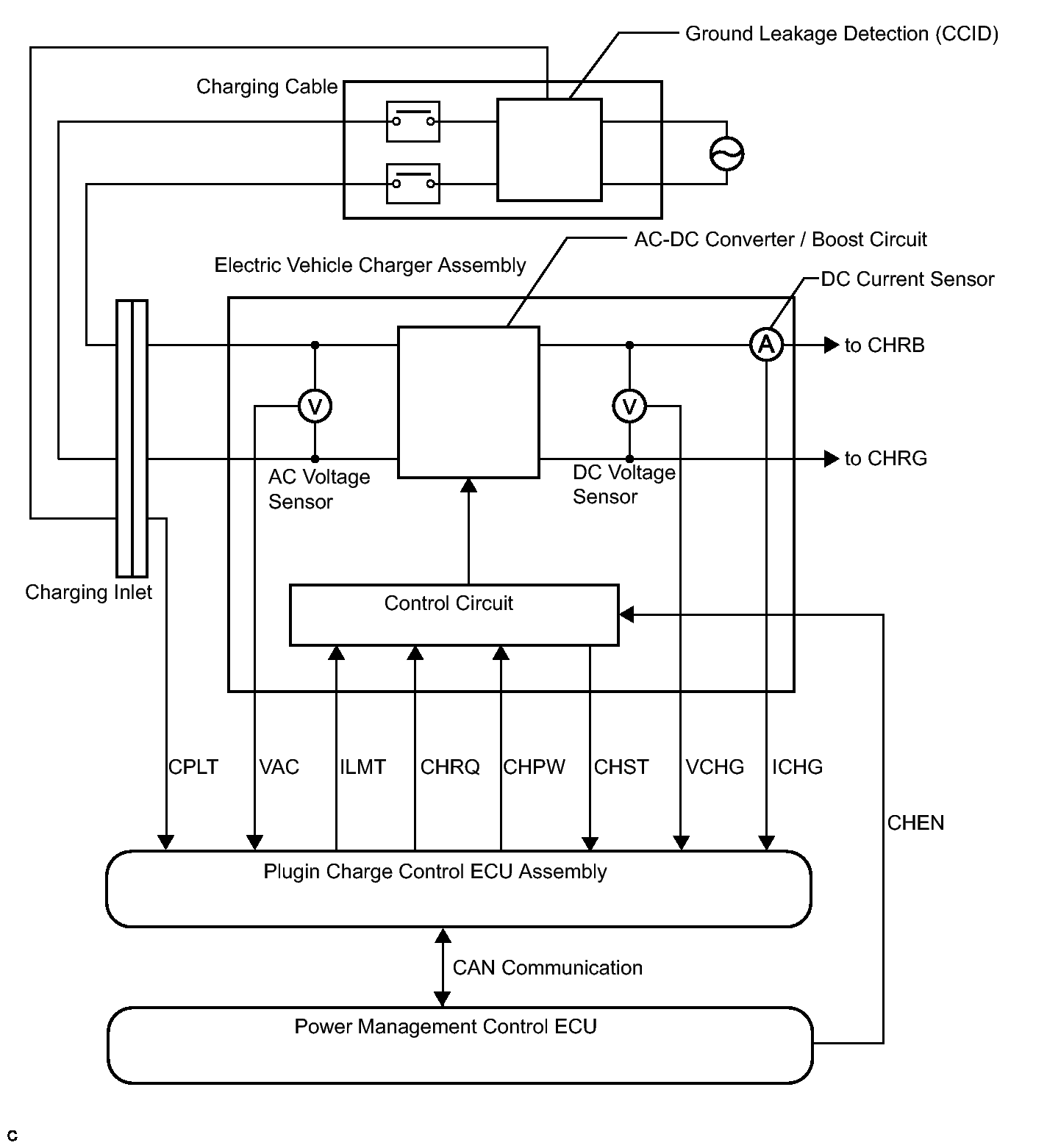
The plugin charge control ECU assembly determines operation commands to the electric vehicle charger assembly based on the CHST signal (charger operation status signal), VAC signal (AC input voltage sensor signal), VCHG signal (DC output voltage sensor signal), ICHG signal (DC output current sensor signal) from the electric vehicle charger assembly, CPLT signal (charging cable communication signal) from the charging cable (CCID), and CAN communication signal from the power management control ECU.

CHRQ signal (charger operation request signal), CHPW signal (charging request output signal), ILMT signal (charger input limit value signal) from the plugin charge control ECU assembly and CHEN signal (charger operation permission signal) from the power management control ECU are sent to the electric vehicle charger assembly, and the electric vehicle charger assembly operates based on an operation command (start-up, stop, or charge voltage output) depending on the situation.

Charge voltage from the AC power source is converted from AC to DC and boosted by the electric vehicle charger assembly via the charging cable, and charges the HV battery via the charge relay.

Fig 1: Identifying Plug-In Charge Control System Diagram
GTY330742Courtesy of © TOYOTA, LICENSE AGREEMENT TMS1002
DTC No. INF Code DTC Detection Condition Trouble Area
P0D5C 847 Charging power is extremely small compared to the charging power command value (target value).
  • Electric vehicle charger assembly
  • Plugin charge control ECU assembly
  • Electric vehicle charger cable
  • Electric vehicle charger wire
  • Electric vehicle fuse
  • Hybrid battery junction block assembly
  • No. 1 hybrid vehicle battery pack cable
  • No. 2 hybrid vehicle battery pack cable
  • Wire harness or connector
RELATED DATA LIST

DTC No. INF Code Data List
P0D5C 847
  • Request Charge Power
  • Calculated Value of Charge Power Output
  • Charger Output Current
  • Charger Output Voltage
  • Calculated Value of Charge Power Input
  • Target Charge Power

HINT: 

For direct current: Electric Power = Voltage x Current