LEMON Manuals: Even more car manuals for everyone
Home >> Toyota >> 2015 >> Prius Two >> Repair and Diagnosis >> External Pages >> Different variant/trim >> Section 21 (Smart Key System (Keyless Entry) - (Diagnostics - Introduction) (Plug-In)) >> SMART KEY SYSTEM (for Entry Function) >> Operation Check [08/2014 - ] >> Operation Check [08/2014 - ]

Operation Check [08/2014 - ]

WARNING: This page is about a different variant/trim than selected.
  1. SMART KEY SYSTEM OPERATION INSPECTION 
    1. Check the entry unlock function.
      1. Use the wireless lock operation to lock the doors. With the key outside the vehicle, touch a front door outside handle assembly (touch sensor) and check that the door unlocks.
    2. Check the entry unlock operation detection area.
      1. Step 1: Hold the key at the same height as the door outside handle assembly (approximately 0.8 m (2.62 ft.)). Make sure that the direction of the key is as shown in the illustration.
      2. Step 2: Check that when the key is brought within 0.7 to 1.0 m (2.30 to 3.28 ft.) of the vehicle, the system enters unlock standby mode.
        Fig 1: Identifying Entry Unlock Operation Detection Area
        GTY219404Courtesy of © TOYOTA, LICENSE AGREEMENT TMS1002
        TEXT IN ILLUSTRATION

        *1 0.7 to 1.0 m

        HINT: 

        When the system enters unlock standby mode, the key LED illuminates.

      3. Step 3: After the system enters unlock standby mode, touch the door outside handle assembly (touch sensor) within 3 seconds. Check that the door unlocks.
        Fig 2: Touching Door Outside Handle Assembly (Touch Sensor)
        GTY212428Courtesy of © TOYOTA, LICENSE AGREEMENT TMS1002
        NOTE:

        The key may not be able to communicate with the system within a 0.2 m (0.656 ft.) radius of each door outside handle assembly.

      4. Step 4: Repeat step 2 and 3 for the remaining front door.
      5. Step 5: Inspect the door outside handle assembly (touch sensor) response sensitivity. When the system is in unlock standby mode, check that touching the area shown in the illustration causes the door to unlock.
        Fig 3: Touching Door Outside Handle Assembly (Touch Sensor)
        GTY212428Courtesy of © TOYOTA, LICENSE AGREEMENT TMS1002
        NOTE:

        When touching the highlighted area, touching too quickly or having extended contact may not trigger the sensor. In such a case, the door will not unlock.

      6. Step 6: Repeat step 5 for the remaining front door.
    3. Check the entry lock function.
      NOTE:

      If the key is in the cabin, but is not in a detection area (on the instrument panel, rear tray, in the glove box, or on the floor), the key confinement function may not operate. This can result in key confinement.

      1. Step 1: Confirm that all the doors lock when a lock sensor on a front door outside handle is touched with all the doors closed and unlocked while the key is outside the vehicle.
        Fig 4: Touching Front Door Outside Handle To Confirm Doors Lock
        GTY212427Courtesy of © TOYOTA, LICENSE AGREEMENT TMS1002
      2. Step 2: Inspect the smart door lock detection area. Hold the key 0.1 m (0.328 ft.) below the window (about 1 m (3.28 ft.) above the ground). Move the key about 0.3 m (0.984 ft.) away from the vehicle and touch the lock sensor as shown in the illustration to check that all the doors lock.
        TEXT IN ILLUSTRATION

        *1 Approximately 0.3 m

        HINT: 

        • Due to the key being unable to communicate with the system from within 0.2 m (0.656 ft.) of the door handle, the lock sensor may not operate when the lock sensor is touched by the same hand that is holding the key.
        • If the key confinement prevention function buzzer sounds, radio waves from the indoor electrical antenna may be leaking from the vehicle.
        Fig 5: Identifying Entry Unlock Operation Detection Area
        GTY219404Courtesy of © TOYOTA, LICENSE AGREEMENT TMS1002
    4. Check the entry system back door open function (w/ Entry System Back Door Open Function).
      1. Close the back door. With the key outside the vehicle, check that pushing the back door opener switch assembly opens the back door.
      2. Inspect the entry back door open operation detection area. Hold the key at the same height as the back door opener switch assembly (approximately 0.8 m (2.62 ft.)) aligning it with the center of the rear of the vehicle. Make sure that the direction of the key is as shown in the illustration. Check that when the key is brought within 0.7 to 1.0 m (2.30 to 3.28 ft.) of the vehicle, pushing the back door opener switch assembly (opener switch) opens the back door.
        Fig 6: Identifying Entry System Back Door Open Function
        GTY227029Courtesy of © TOYOTA, LICENSE AGREEMENT TMS1002
        TEXT IN ILLUSTRATION

        *1 0.7 to 1.0 m
        *2 Vehicle Center
        *3 Opener Switch
    5. Check the entry back door lock function (w/ Entry System Back Door Open Function).
      1. Close all of the vehicle doors. With the key in your possession outside the vehicle, check that pushing the back door opener switch assembly (lock switch) locks all the doors.
        Fig 7: Identifying Entry System Back Door Open Function
        GTY217375Courtesy of © TOYOTA, LICENSE AGREEMENT TMS1002
        TEXT IN ILLUSTRATION

        *1 Approximately 0.3 m
        *2 Vehicle Center
        *3 Lock Switch

        HINT: 

        • When pressing the lock switch, hold the key about 1 m (3.28 ft.) above the ground and about 0.3 m (0.984 ft.) away from the vehicle as shown in the illustration.
        • Due to the key being unable to communicate with the system from within 0.2 m (0.656 ft.) of the door handle, the lock sensor may not operate when the lock sensor is touched by the same hand that is holding the key.
        • If the key confinement prevention function buzzer sounds, radio waves from the indoor electrical oscillator may be leaking from the vehicle.
    6. Check the entry hybrid control system start function.
      1. While holding the key, confirm that the power switch indicator light illuminates green when the power switch is off, park (P) is selected and the brake pedal is depressed. When the power switch indicator illuminates green, confirm that the hybrid control system starts when the power switch is pressed.
      2. While holding the key, confirm that the power switch turns off → on (ACC) → on (IG) → off every time the power switch is pressed when the brake pedal is not depressed.

        HINT: 

        When the power switch is pressed with the power switch on (IG) and the shift lever in R, N, D or B, the power switch will not turn off but remain on (ACC).

      3. With the hybrid control system running, the vehicle stopped and park (P) selected, confirm that pressing the power switch turns the hybrid control system off, and opens the driver door.

        HINT: 

        When the power switch is pressed with the power switch on (IG) and the shift lever in R, N, D or B, the power switch will not turn off but remain on (ACC).

      4. Inspect the detection area for the entry hybrid control system start function (for front floor). Make sure that the direction of the key is as shown in the illustration. When the key is in either of the 2 inspection points shown in the illustration, check that the hybrid control system can start.
        Fig 8: Identifying Inspection Point
        GTY231232Courtesy of © TOYOTA, LICENSE AGREEMENT TMS1002
        TEXT IN ILLUSTRATION

        *1 Inspection Point
        NOTE:

        The hybrid control system may not start when the key is on the instrument panel, rear package tray or in the glove box.

      5. Inspect the detection area for the entry hybrid control system start function (for center floor). Make sure that the direction of the key is as shown in the illustration. When the key is in either of the 2 inspection points shown in the illustration, check that the hybrid control system can start.
        Fig 9: Identifying Inspection Point
        GTY216481Courtesy of © TOYOTA, LICENSE AGREEMENT TMS1002
        TEXT IN ILLUSTRATION

        *1 Inspection Point
        NOTE:

        The hybrid control system may not start when the key is on the instrument panel, rear package tray or in the glove box.

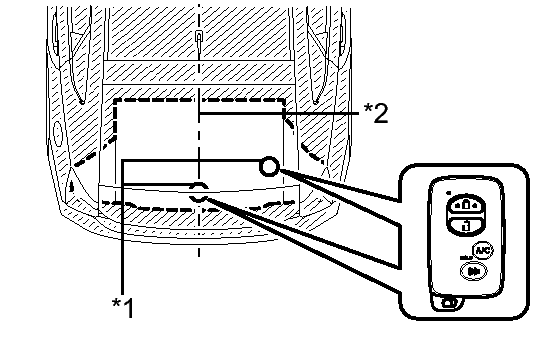
      6. Inspect the detection area for the entry hybrid control system start function (for rear floor). Make sure that the direction of the key is as shown in the illustration. When the key is in either of the 2 inspection points shown in the illustration, check that the hybrid control system can start.
        Fig 10: Identifying Inspection Point And Vehicle Center
        GTY229188Courtesy of © TOYOTA, LICENSE AGREEMENT TMS1002
        TEXT IN ILLUSTRATION

        *1 Inspection Point
        *2 Vehicle Center
        NOTE:

        The hybrid control system may not start when the key is on the instrument panel, rear package tray or in the glove box.

    7. Check the key confinement prevention function (in cabin)
      NOTE:

      Perform this check with a window open to prevent key confinement.

      1. Turn the power switch off.
      2. Put the key on a front seat or a rear seat.
      3. Close all the doors (all doors are in an unlocked state).
      4. Confirm that the door lock does not operate but the wireless door lock buzzer sounds for 10 seconds when a front door lock sensor is touched.
    8. Check the key cancel function.
      1. While the power switch is on (IG), check that the back door opener switch assembly (opener switch) is the only switch that can be operated in the smart key system.
      2. While the key cancel function (smart key system cancel function) is on, check that all functions of the smart key system cannot be operated.
    9. Check the answer-back function (hazard warning light flashing and buzzer sounding).
      Entry Operation Hazard Warning Light Buzzer
      Entry Door Lock Flashes once Sounds once
      Entry Door Unlock Flashes twice Sounds twice
      Entry System Back Door Open Function Flashes twice Sounds twice
    10. Check that the key reminder warning buzzer sounds.
      1. With the key inside the vehicle, close the driver door. Then turn the power switch off or on (ACC).
      2. Open the driver door and check that the buzzer sounds intermittently.
    11. Check that the key reminder warning buzzer stops.
      1. When the buzzer is sounding, check that the buzzer stops sounding if either of the following is performed:
        • Close the driver door (front door courtesy light switch is off).
        • Turn the power switch on (IG).
  2. KEY DIAGNOSTIC MODE 

    HINT: 

    Key diagnostic mode checks if the key within a selected oscillator detection area is operating normally. The results are output through the wireless door lock buzzer.

    1. Connect the Techstream to the DLC3.
    2. Turn the power switch on (IG).
    3. Turn the Techstream on.
    4. Enter the following menus: Body Electrical / Smart Key / Utility / Key Communication Check.
    5. Check the values by referring to the table below.
      SMART KEY (CERTIFICATION ECU (SMART KEY ECU ASSEMBLY))

      Tester Display Inspection Range
      Overhead + Driver Side*1 Door electrical key oscillator (for driver side)
      Overhead + Passenger Side*2 Door electrical key oscillator (for front passenger side)*
      Overhead + Front Room*3 No. 1 indoor electrical key antenna assembly (for front floor)
      Overhead + Rear Room*4 No. 2 indoor electrical key antenna assembly (for center floor)
      Overhead + Back Door (inside)*5 No. 3 indoor electrical key antenna assembly (for rear floor)
      Overhead + Back Door*6 Electrical key antenna (for rear side)*
      Immobilizer Amp*7 Amplifier (power switch)
      • *: w/ Entry System Back Door Open Function
    6. When the key is brought near the selected oscillator, check that the wireless door lock buzzer sounds.
      1. *1: Door electrical key oscillator (for driver side)
        Fig 11: Identifying Entry Unlock Operation Detection Area
        GTY219404Courtesy of © TOYOTA, LICENSE AGREEMENT TMS1002
        TEXT IN ILLUSTRATION

        *1 0.7 to 1.0 m

        HINT: 

        • Hold the key at the same height as the door outside handle assembly (0.7 to 1.0 m (2.30 to 3.28 ft.)). Make sure that the direction of the key is as shown in the illustration.
        • *2: Perform the same inspection above for the door electrical key oscillator (for front passenger side).
      2. *3: No. 1 indoor electrical key antenna assembly (for front floor)
        Fig 12: Identifying Inspection Point
        GTY231232Courtesy of © TOYOTA, LICENSE AGREEMENT TMS1002
        TEXT IN ILLUSTRATION

        *1 Inspection Point

        HINT: 

        Place the key on the driver or front passenger seat cushion.

      3. *4: No. 2 indoor electrical key antenna assembly (for center floor)
        Fig 13: Identifying Inspection Point
        GTY216481Courtesy of © TOYOTA, LICENSE AGREEMENT TMS1002
        TEXT IN ILLUSTRATION

        *1 Inspection Point

        HINT: 

        Place the key on the rear seat cushion.

      4. *5: No. 3 indoor electrical key antenna assembly (for rear floor)
        Fig 14: Identifying Inspection Point And Vehicle Center
        GTY229188Courtesy of © TOYOTA, LICENSE AGREEMENT TMS1002
        TEXT IN ILLUSTRATION

        *1 Inspection Point
        *2 Vehicle Center

        HINT: 

        Place the key on the luggage area.

      5. *6: Electrical key antenna (for rear side)
        Fig 15: Identifying Vehicle Center
        GTY217992Courtesy of © TOYOTA, LICENSE AGREEMENT TMS1002
        TEXT IN ILLUSTRATION

        *1 0.7 to 1.0 m
        *2 Vehicle Center

        HINT: 

        Hold the key at the same height as the rear bumper upper surface and align it with the center of the rear of the vehicle (0.7 to 1.0 m (2.30 to 3.28 ft.)). Make sure that the direction of the key is as shown in the illustration.

      6. *7: Amplifier (power switch)
        Fig 16: Holding Key Close To Power Switch
        GTY220624Courtesy of © TOYOTA, LICENSE AGREEMENT TMS1002

        HINT: 

        Touch the power switch while facing the logo side of the key to the power switch.