LEMON Manuals: Even more car manuals for everyone
Home >> Toyota >> 2015 >> Prius Plug-in >> Repair and Diagnosis >> External Pages >> Different variant/trim >> Section 13 (Lighting System (Exterior) (Diagnostics - Introduction) (Except Plug-In)) >> Lighting System >> System Diagram [08/2014 - ] >> System Diagram [08/2014 - ]

System Diagram [08/2014 - ]

WARNING: This page is about a different variant/trim than selected.
  1. AUTOMATIC LIGHT CONTROL SYSTEM 
    Fig 1: Identifying Automatic Light Control System Diagram
    GTY211346Courtesy of © TOYOTA, LICENSE AGREEMENT TMS1002
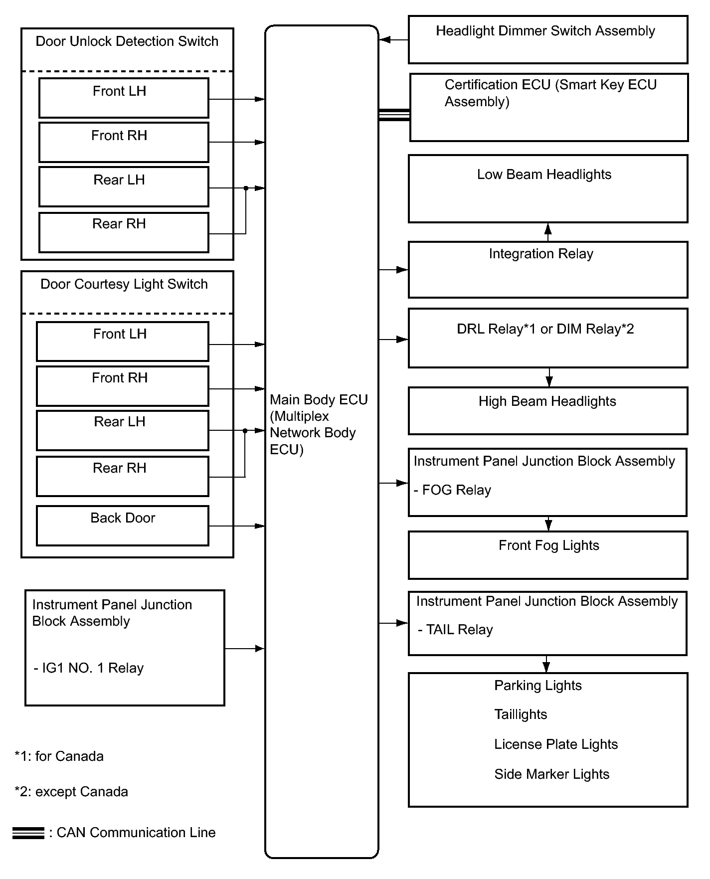
  2. LIGHT AUTO TURN-OFF SYSTEM 
    Fig 2: Light Auto Turn-Off System Diagram
    GTY337688Courtesy of © TOYOTA, LICENSE AGREEMENT TMS1002
    COMMUNICATION TABLE

    Transmitter Receiver Line Data Name
    Certification ECU (Smart Key ECU Assembly) Main Body ECU (Multiplex Network Body ECU) CAN Wireless Door Lock Signal
  3. DAYTIME RUNNING LIGHT SYSTEM (for Canada) 
    Fig 3: Identifying Daytime Running Light System Communication Schematic
    GTY222710Courtesy of © TOYOTA, LICENSE AGREEMENT TMS1002
    COMMUNICATION TABLE

    Transmitter Receiver Line Data Name
    Power Management Control ECU Main Body ECU (Multiplex Network Body ECU) CAN READY condition signal
  4. DAYTIME RUNNING LIGHT SYSTEM (except Canada) 
    Fig 4: Daytime Running Light System Communication Schematic
    GTY334576Courtesy of © TOYOTA, LICENSE AGREEMENT TMS1002
    COMMUNICATION TABLE

    Transmitter Receiver Line Data Name
    Power Management Control ECU Main Body ECU (Multiplex Network Body ECU) CAN READY condition signal
  5. LED HEADLIGHT SYSTEM 
    Fig 5: LED Headlight System Diagram
    GTY216473Courtesy of © TOYOTA, LICENSE AGREEMENT TMS1002
    COMMUNICATION TABLE

    Transmitter Receiver Line Data Name
    Main Body ECU (Multiplex Network Body ECU) Combination Meter Assembly CAN Lighting System State Signal
    Main Body ECU (Multiplex Network Body ECU) Combination Meter Assembly CAN Warning Indicator
  6. AUTOMATIC HEADLIGHT BEAM LEVEL CONTROL SYSTEM 
    Fig 6: Identifying Automatic Headlight Beam Level Control System Diagram
    GTY215378Courtesy of © TOYOTA, LICENSE AGREEMENT TMS1002