LEMON Manuals: Even more car manuals for everyone
Home >> Toyota >> 2014 >> Prius Two >> Repair and Diagnosis >> External Pages >> Different variant/trim >> Section 53 (Engine Control System (Diagnostic Code (P0010 - P0300)) - PRIUS (Plug-In)) >> SFI System >> DTC P0102: Mass or Volume Air Flow Circuit Low Input; DTC P0103: Mass or Volume Air Flow Circuit High Input [10/2013 - ] >> Wiring Diagram

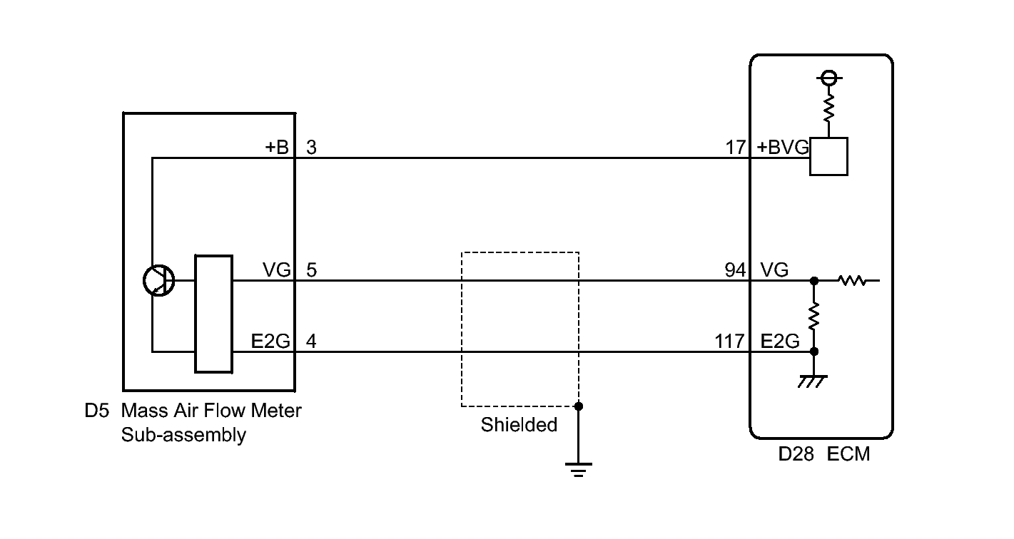
DTC P0102: Mass or Volume Air Flow Circuit Low Input; DTC P0103: Mass or Volume Air Flow Circuit High Input [10/2013 - ]: Wiring Diagram

WARNING: This page is about a different variant/trim than selected.
Fig 1: Identifying Mass Air Flow Meter Circuit Diagram
GTY324542Courtesy of © TOYOTA, LICENSE AGREEMENT TMS1002